莱克电气获得发明专利授权:“一种电机以及电器”
作者:小微
发表于:2026年03月07日
浏览量:70742

图片来源于网络,如有侵权,请联系删除
证券之星消息,根据天眼查APP数据显示莱克电气(603355)新获得一项发明专利授权,专利名为“一种电机以及电器”,专利申请号为CN202110631832.3,授权日为2026年3月6日。
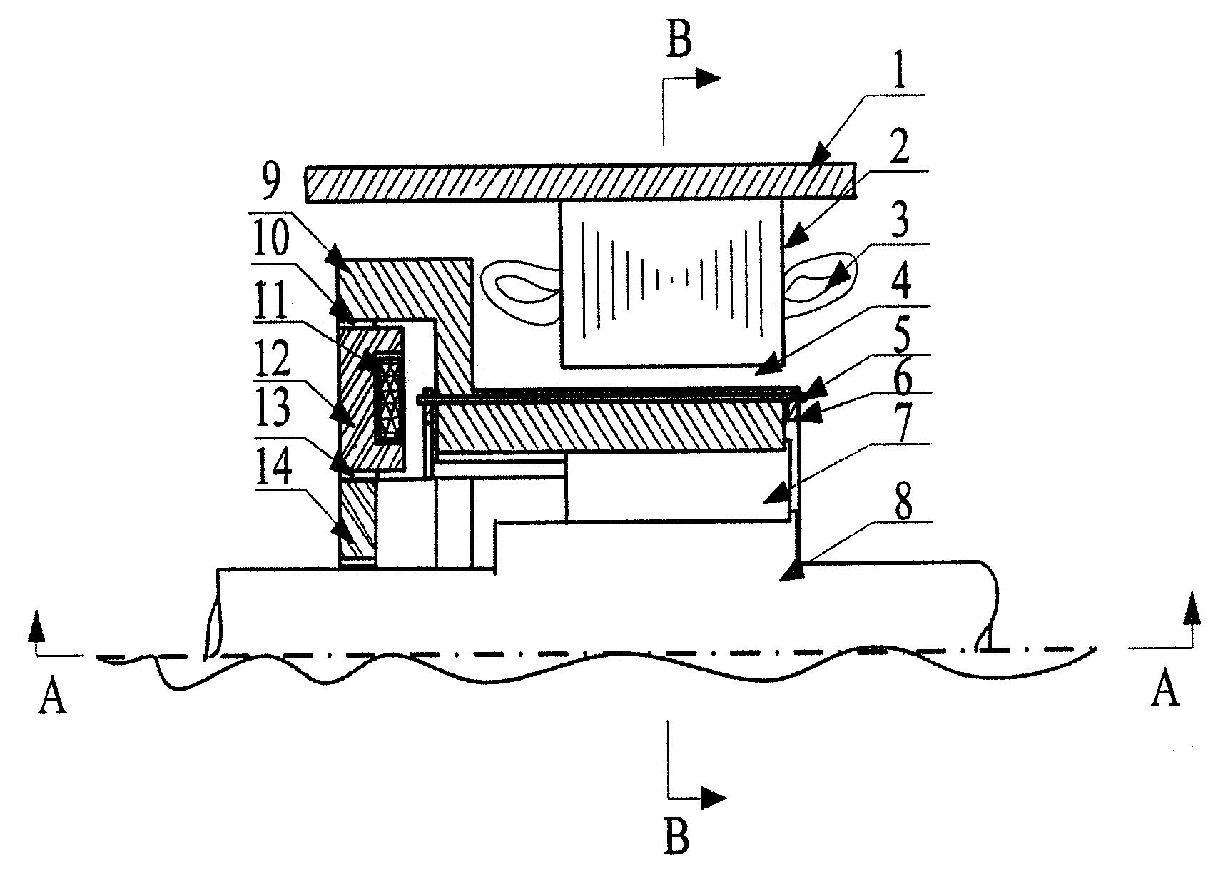
专利摘要:本发明涉及电机技术领域,尤其涉及电机以及电器。该电机包括壳体以及设置在其内的定子、转子以及锁定件,转子能相对定子转动,锁定件包括主体、第一抵接部以及第一卡接部,设置在主体上,定子位于第一抵接部与壳体之间,第一卡接部设置在主体上,壳体内设置有第二卡接部,第一卡接部和第二卡接部卡接,第一抵接部和壳体共同夹持定子,从而实现定子与壳体的稳固固定,保证电机在工作过程中较好的静音效果,保证电机的正常工作以及正常运行。该电器通过应用上述电机,能够保证电器在工作过程中较好的静音效果,保证电器的正常工作以及正常运行。

图片来源于网络,如有侵权,请联系删除
今年以来莱克电气新获得专利授权56个,较去年同期增加了36.59%。结合公司2025年中报财务数据,2025上半年公司在研发方面投入了2.82亿元,同比增12.64%。
通过天眼查大数据分析,莱克电气股份有限公司共对外投资了27家企业,参与招投标项目35次;财产线索方面有商标信息515条,专利信息3292条,著作权信息5条;此外企业还拥有行政许可21个。
数据来源:天眼查APP
以上内容为证券之星据公开信息整理,由AI算法生成(网信算备310104345710301240019号),不构成投资建议。
