中国石化获得发明专利授权:“一种生物质炭化-气化制取合成气的方法和系统”
作者:小微
发表于:2025年08月05日
浏览量:53746

图片来源于网络,如有侵权,请联系删除
证券之星消息,根据天眼查APP数据显示中国石化(600028)新获得一项发明专利授权,专利名为“一种生物质炭化-气化制取合成气的方法和系统”,专利申请号为CN202111276751.2,授权日为2025年8月5日。
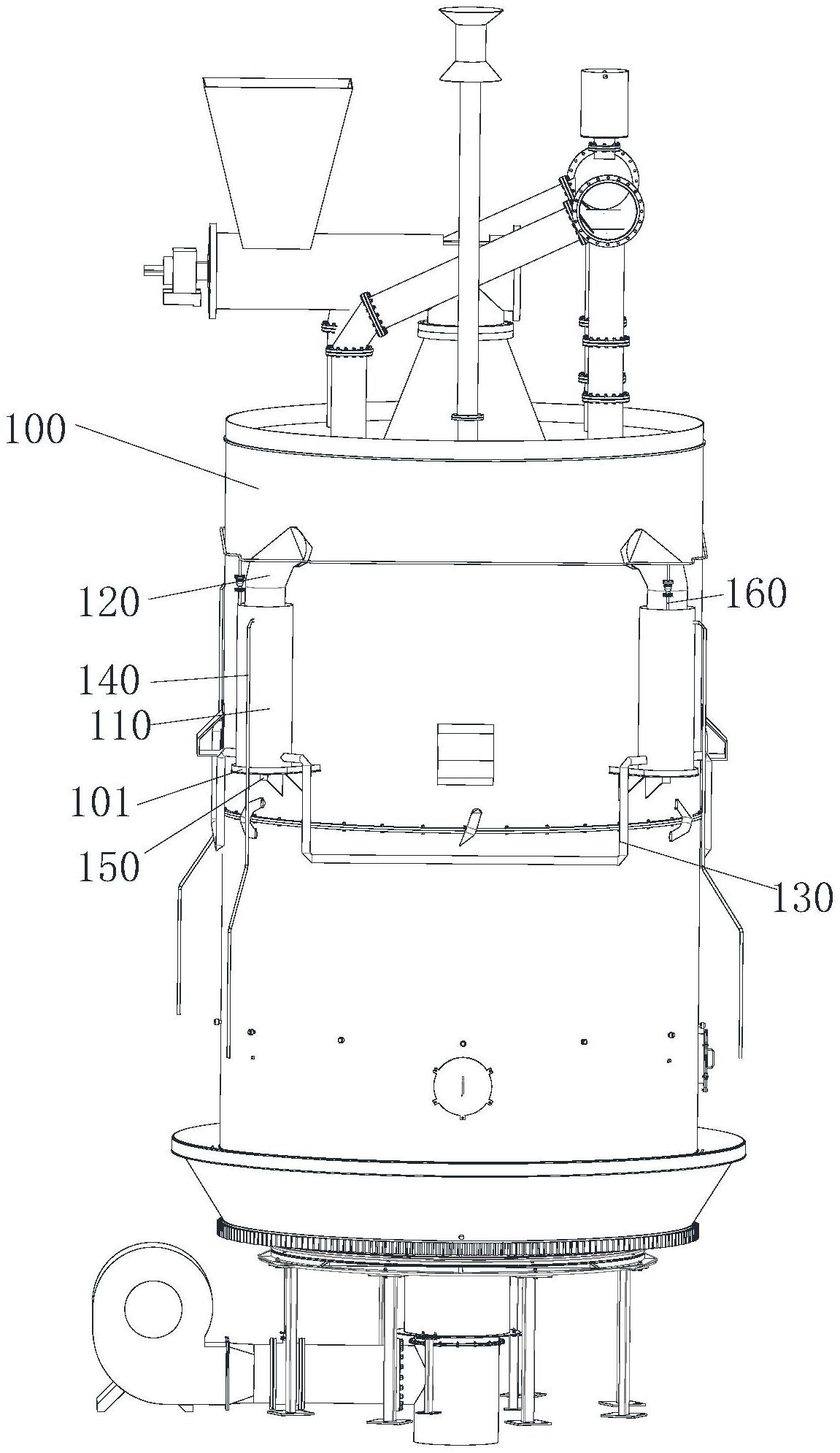
专利摘要:本发明提供一种生物质炭化?气化制取合成气的方法和系统,所述方法包括如下步骤:(1)将生物质原料处理后得到第1原料;(2)将第1原料、催化剂A混合均匀后得到第2原料;(3)将第2原料引入炭化反应器进行反应,反应完成后得到固相料流和气相料流;(4)将步骤(3)得到的固相料流与催化剂B混合,混合均匀后得到第3原料;(5)将第3原料引入气化反应器进行活化,活化完成后进一步在水蒸气存在下进行水蒸气气化反应,得到合成气产品。本发明通过炭化?气化联合的方式将生物质转化为合成气产品,具有工艺简单、合成气产率高、能量利用率高的优点。
今年以来中国石化新获得专利授权1975个,较去年同期减少了42.74%。结合公司2024年年报财务数据,2024年公司在研发方面投入了152.15亿元,同比增8.92%。
通过天眼查大数据分析,中国石油化工股份有限公司共对外投资了263家企业,参与招投标项目15587次;财产线索方面有商标信息106条,专利信息88833条,著作权信息1175条;此外企业还拥有行政许可40个。
数据来源:天眼查APP
以上内容为证券之星据公开信息整理,由AI算法生成(网信算备310104345710301240019号),不构成投资建议。
