新泉股份获得实用新型专利授权:“一种一体式水杯座简易回弹杯托总成”
作者:小微
发表于:2025年06月27日
浏览量:67362

图片来源于网络,如有侵权,请联系删除
证券之星消息,根据天眼查APP数据显示新泉股份(603179)新获得一项实用新型专利授权,专利名为“一种一体式水杯座简易回弹杯托总成”,专利申请号为CN202422243850.6,授权日为2025年6月27日。
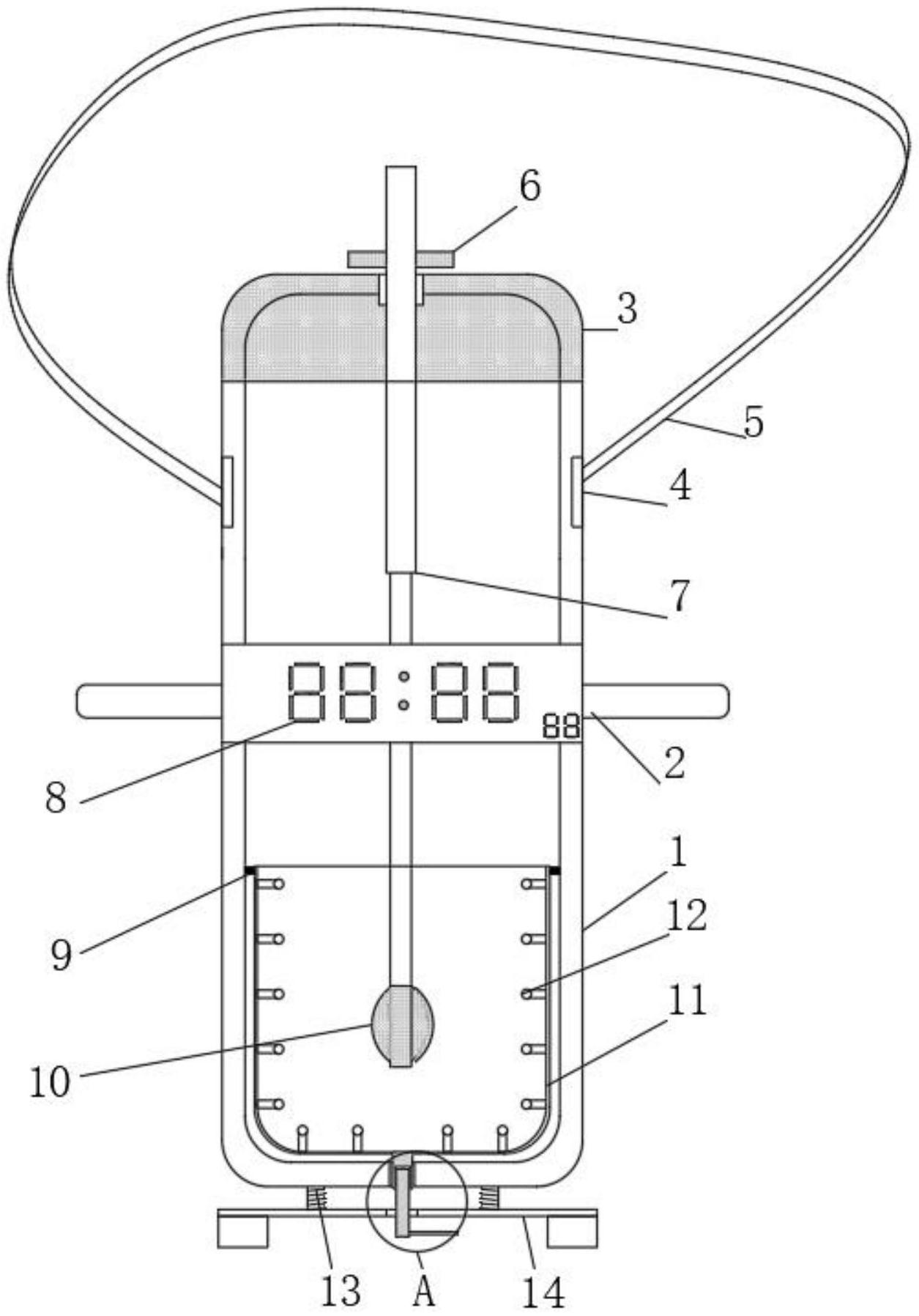
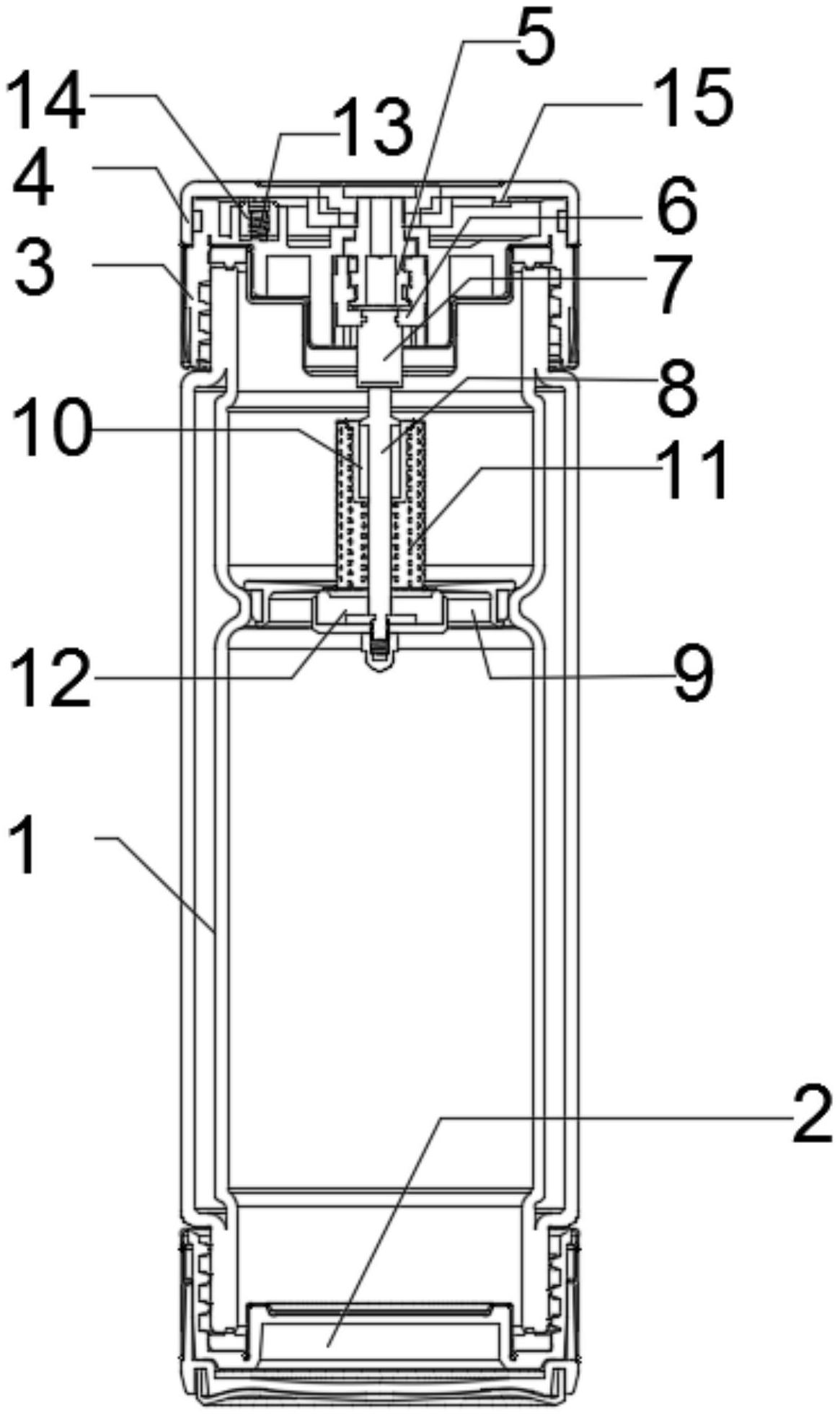
专利摘要:本实用新型属于汽车杯托领域,具体涉及一种一体式水杯座简易回弹杯托总成,包括一体式水杯座、活动卡接于一体式水杯座中部的若干卡爪、套接在所有卡爪上的回弹皮筋和固定在一体式水杯座顶部的水杯座亮条,卡爪在一体式水杯座壁内旋转,若干卡爪通过一根回弹皮筋实现回弹。本实用新型结构简单,使用方便,制造成本低。

图片来源于网络,如有侵权,请联系删除
今年以来新泉股份新获得专利授权36个,较去年同期减少了34.55%。结合公司2024年年报财务数据,2024年公司在研发方面投入了5.49亿元,同比增20.02%。
通过天眼查大数据分析,江苏新泉汽车饰件股份有限公司共对外投资了21家企业,参与招投标项目55次;财产线索方面有商标信息2条,专利信息353条,著作权信息5条;此外企业还拥有行政许可38个。
数据来源:天眼查APP
以上内容为证券之星据公开信息整理,由AI算法生成(网信算备310104345710301240019号),不构成投资建议。
