清越科技获得发明专利授权:“一种显示面板及其制备方法和显示装置”
作者:小微
发表于:2025年06月04日
浏览量:59497

图片来源于网络,如有侵权,请联系删除
证券之星消息,根据天眼查APP数据显示清越科技(688496)新获得一项发明专利授权,专利名为“一种显示面板及其制备方法和显示装置”,专利申请号为CN202210373107.5,授权日为2025年6月3日。
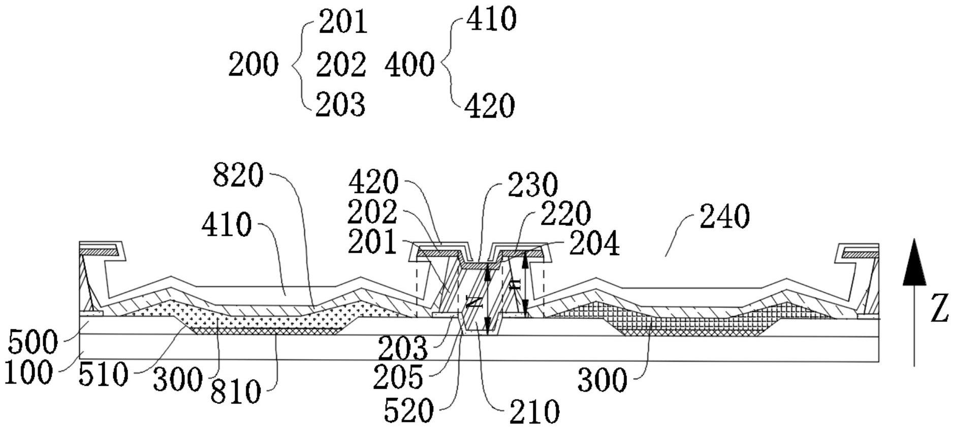
专利摘要:本发明实施例公开了一种显示面板及其制备方法和显示装置,其中显示面板包括:基板;发光层,位于基板的一侧;发光层包括多个阵列排布的发光单元;发光单元用于在驱动后,在基板所在的一侧形成显示画面;光电转化层,光电转化层位于发光层远离基板的一侧,以及发光层的侧壁;光电转化层用于将发光层射向光电转化层的光转化为电能;封装层;封装层位于反光层远离所述基板的一侧。本结构可以保证OLED发光材料在发光时一部分光从基板方向射出形成字符图案的同时,可以将剩余的向器件底面和侧面传播的光通过光电化换层进行光电转化形成电能,电能可以供给OLED显示面板,从而避免了光的浪费,改善了显示面板存在的光损失问题。

图片来源于网络,如有侵权,请联系删除
今年以来清越科技新获得专利授权14个,较去年同期减少了30%。结合公司2024年年报财务数据,2024年公司在研发方面投入了6963.95万元,同比减19.16%。
数据来源:天眼查APP
以上内容为证券之星据公开信息整理,由AI算法生成(网信算备310104345710301240019号),不构成投资建议。
