雅克科技获得实用新型专利授权:“一种泡沫板侧边保护薄膜的收卷装置”
作者:小微
发表于:2026年03月20日
浏览量:56648

图片来源于网络,如有侵权,请联系删除
证券之星消息,根据天眼查APP数据显示雅克科技(002409)新获得一项实用新型专利授权,专利名为“一种泡沫板侧边保护薄膜的收卷装置”,专利申请号为CN202423192959.8,授权日为2026年3月20日。
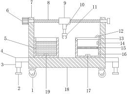
专利摘要:本实用新型公开了一种泡沫板侧边保护薄膜的收卷装置,包括支架、设置于支架上的传动电机、设置于传动电机上的转盘、设置于转盘上的收卷柱,所述支架上设置有气缸装置,所述气缸装置位于收卷柱的上方,所述气缸装置的底部设置有气压轴,所述气压轴的底部设置有气压块,所述气压块位于收卷柱的顶面上,所述气压块用于给收卷柱提供下压摩擦力以控制收卷柱的转速。本实用新型具备收卷力实时调整功能,确保薄膜在收卷柱上的收卷整齐以及平整性,提升了薄膜收卷效果。

图片来源于网络,如有侵权,请联系删除
今年以来雅克科技新获得专利授权5个。结合公司2025年中报财务数据,2025上半年公司在研发方面投入了1.52亿元,同比增46.88%。

图片来源于网络,如有侵权,请联系删除
通过天眼查大数据分析,江苏雅克科技股份有限公司共对外投资了18家企业,参与招投标项目31次;财产线索方面有商标信息6条,专利信息133条,著作权信息4条;此外企业还拥有行政许可102个。
数据来源:天眼查APP
以上内容为证券之星据公开信息整理,由AI算法生成(网信算备310104345710301240019号),不构成投资建议。
