中微公司获得实用新型专利授权:“一种半导体设备”
作者:小微
发表于:2026年03月20日
浏览量:53899

图片来源于网络,如有侵权,请联系删除
证券之星消息,根据天眼查APP数据显示中微公司(688012)新获得一项实用新型专利授权,专利名为“一种半导体设备”,专利申请号为CN202423192168.5,授权日为2026年3月20日。
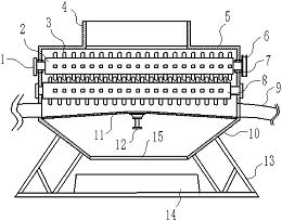
专利摘要:本实用新型公开了一种半导体设备,包括:手套箱;反应腔,反应腔包括腔体和顶盖,腔体的顶部设置有开口,顶盖设置在开口上以启闭腔体,至少顶盖设置于手套箱内部;双轴提升机构,双轴提升机构包括两组至少部分位于手套箱内部的提升组件;每一提升组件包括滑动件、导杆以及驱动杆;滑动件设置于导杆上且与顶盖连接;驱动杆用于驱动滑动件沿导杆上下滑动,以带动顶盖上下运动,实现腔体的启闭。本实用新型实现了采用双轴平稳提升顶盖的方式开腔,适用于在手套箱的有限空间将顶盖平稳提升至操作高度,并且导杆与底板之间、驱动杆与底板之间设置密封结构,使得手套箱内的水氧条件满足要求。

图片来源于网络,如有侵权,请联系删除
今年以来中微公司新获得专利授权33个,较去年同期减少了10.81%。结合公司2025年中报财务数据,2025上半年公司在研发方面投入了11.16亿元,同比增96.65%。

图片来源于网络,如有侵权,请联系删除
通过天眼查大数据分析,中微半导体设备(上海)股份有限公司共对外投资了29家企业,参与招投标项目76次;财产线索方面有商标信息109条,专利信息1664条,著作权信息13条;此外企业还拥有行政许可77个。
数据来源:天眼查APP
以上内容为证券之星据公开信息整理,由AI算法生成(网信算备310104345710301240019号),不构成投资建议。
