万胜智能获得实用新型专利授权:“一种自支撑一体化外壳结构的计量电压互感器”
作者:小微
发表于:2026年03月10日
浏览量:70974

图片来源于网络,如有侵权,请联系删除
证券之星消息,根据天眼查APP数据显示万胜智能(300882)新获得一项实用新型专利授权,专利名为“一种自支撑一体化外壳结构的计量电压互感器”,专利申请号为CN202520447392.X,授权日为2026年3月10日。
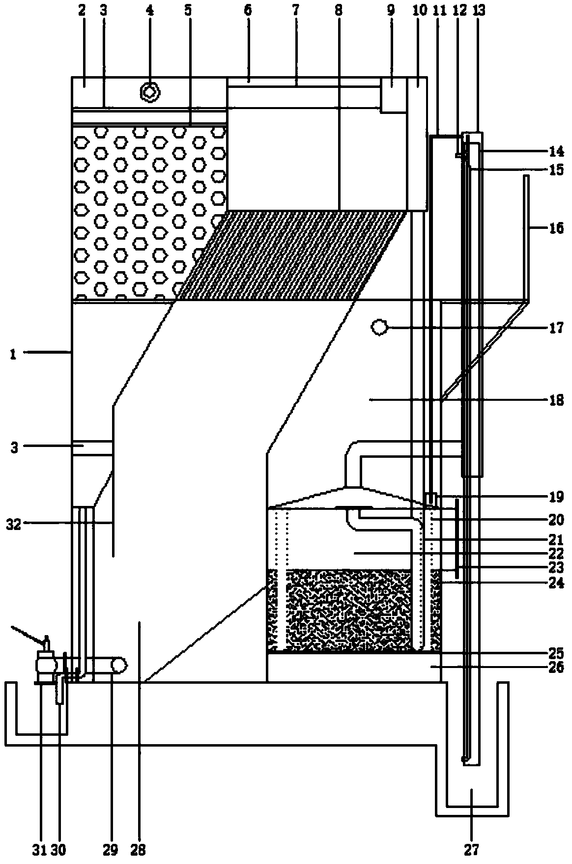
专利摘要:本申请提供一种自支撑一体化外壳结构的计量电压互感器,涉及互感器技术领域。一种自支撑一体化外壳结构的计量电压互感器包括外壳、多个绝缘塔和多个线芯,所述外壳内设置有双层绝缘结构,双层绝缘结构的内侧填充有绝缘气体;多个所述绝缘塔固接于所述外壳表面;多个所述线芯均匀固接于所述外壳内的双层绝缘结构的内层;所述外壳内的双层绝缘结构的内层还均匀设置有多个扰流结构,利用外壳内的双层绝缘结构对外壳内部实现更好的密封效果,同时,利用双层绝缘结构内层的多个扰流结构对气流的对流起到更好的引导效果,增强线芯的散热效果。

图片来源于网络,如有侵权,请联系删除
今年以来万胜智能新获得专利授权10个,较去年同期增加了25%。结合公司2025年中报财务数据,2025上半年公司在研发方面投入了4009.13万元,同比增24.9%。

图片来源于网络,如有侵权,请联系删除
通过天眼查大数据分析,浙江万胜智能科技股份有限公司共对外投资了8家企业,参与招投标项目502次;财产线索方面有商标信息54条,专利信息397条,著作权信息140条;此外企业还拥有行政许可56个。
数据来源:天眼查APP
以上内容为证券之星据公开信息整理,由AI算法生成(网信算备310104345710301240019号),不构成投资建议。
