北方导航获得发明专利授权:“一种自动化检测单元柔性工装”
作者:小微
发表于:2026年03月07日
浏览量:66245

图片来源于网络,如有侵权,请联系删除
证券之星消息,根据天眼查APP数据显示北方导航(600435)新获得一项发明专利授权,专利名为“一种自动化检测单元柔性工装”,专利申请号为CN202411594404.8,授权日为2026年3月6日。
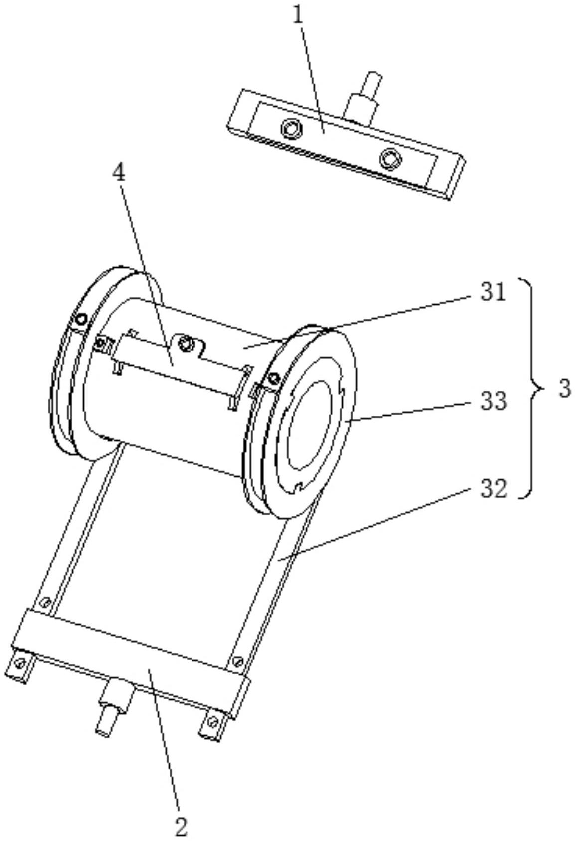
专利摘要:本发明涉及一种自动化检测单元柔性工装,属于舵片测量领域。本发明包括:支撑组件(1)和托盘组件(2);所述支撑组件(1)用于提供支撑与零点定位基准,所述托盘组件(2)设置在支撑组件(1)上方,用于承载和固定待测零件;所述支撑组件(1)包括:零点工装(3)、快接气路(4)、接近开关(5)、底板(6);所述底板(6)为方形板固定在三坐标平台上,底板(6)上方中部设有零点工装(3),零点工装(3)两侧对称位置出设有快接气路(4),所述底板上方还设有接近开关(5),本发明舵片支撑稳定,测试系统基准精准,测试零位准确,从机械结构上保证了舵片自动化检测的可实施性。

图片来源于网络,如有侵权,请联系删除
今年以来北方导航新获得专利授权1个,较去年同期减少了66.67%。结合公司2025年中报财务数据,2025上半年公司在研发方面投入了1.4亿元,同比增29.02%。

图片来源于网络,如有侵权,请联系删除
通过天眼查大数据分析,北方导航控制技术股份有限公司共对外投资了5家企业,参与招投标项目659次;财产线索方面有商标信息6条,专利信息152条,著作权信息24条;此外企业还拥有行政许可41个。
数据来源:天眼查APP
以上内容为证券之星据公开信息整理,由AI算法生成(网信算备310104345710301240019号),不构成投资建议。
