良信股份获得实用新型专利授权:“一种快合机构及面板开关”
作者:小微
发表于:2026年03月06日
浏览量:67937

图片来源于网络,如有侵权,请联系删除
证券之星消息,根据天眼查APP数据显示良信股份(002706)新获得一项实用新型专利授权,专利名为“一种快合机构及面板开关”,专利申请号为CN202520182214.9,授权日为2026年3月6日。
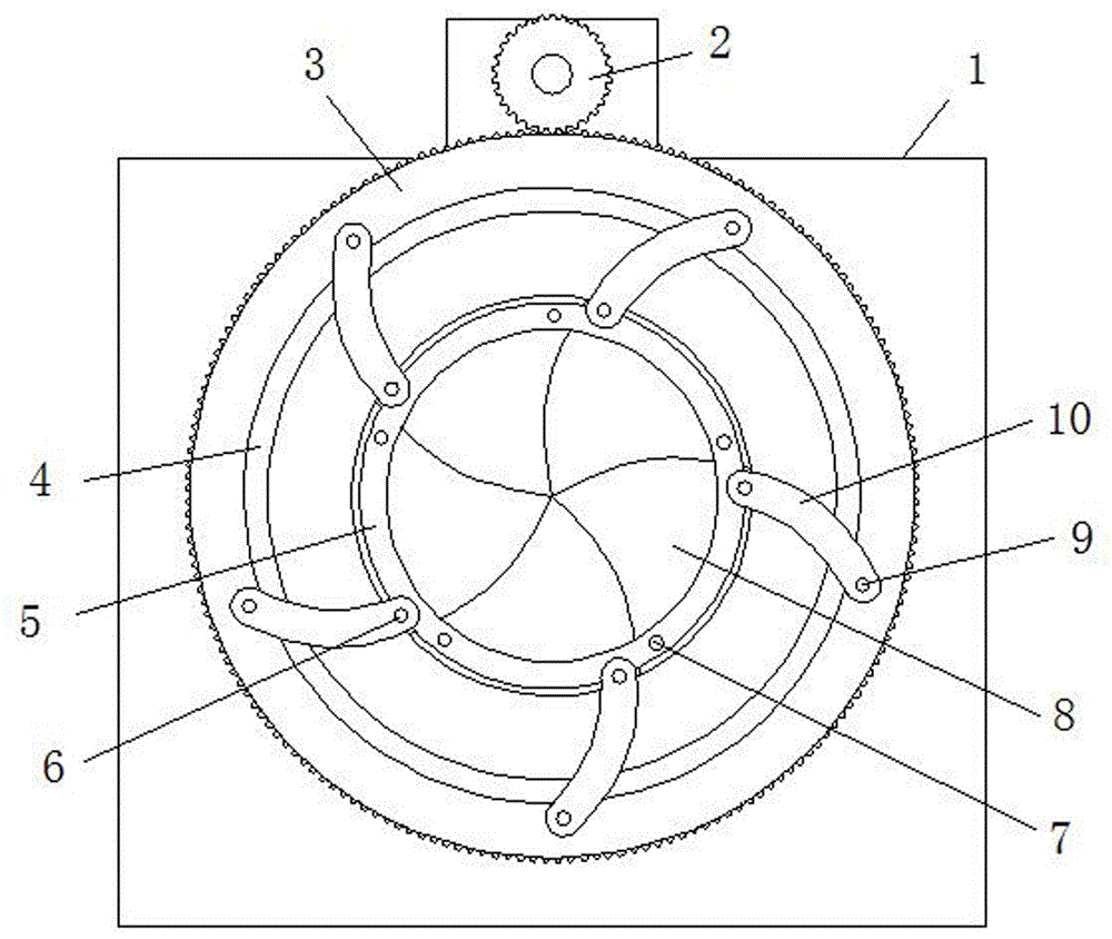
专利摘要:本申请提供一种快合机构及面板开关,涉及低压电器技术领域。该快合机构包括:固定在壳体内的静触头、转动设置在壳体内的动触头、快合件和驱动件,动触头与驱动件同轴设置并通过弹性连接件连接;快合件位于动触头朝向静触头的一侧,快合件包括用于与动触头抵接的第一抵接部和用于与驱动件抵接的第二抵接部,第一抵接部与动触头之间的距离小于第二抵接部与驱动件之间的距离,驱动件沿合闸方向旋转并与第二抵接部抵接后,能够驱动第一抵接部与动触头分离。该快合机构的动触头与驱动件分体设置,两者之间通过弹性连接件连接,并增加了分别与动触头和驱动件作用的快合件,快合件配合弹性连接件实现动触头与静触头的快速闭合,并显著减少了熔焊情况。

图片来源于网络,如有侵权,请联系删除
今年以来良信股份新获得专利授权33个,较去年同期减少了28.26%。结合公司2025年中报财务数据,2025上半年公司在研发方面投入了1.5亿元,同比增12.88%。
通过天眼查大数据分析,上海良信电器股份有限公司共对外投资了12家企业,参与招投标项目639次;财产线索方面有商标信息416条,专利信息3031条,著作权信息21条;此外企业还拥有行政许可81个。
数据来源:天眼查APP
以上内容为证券之星据公开信息整理,由AI算法生成(网信算备310104345710301240019号),不构成投资建议。
