坚朗五金获得实用新型专利授权:“多角度调节支架抱箍构件及线缆安装设备”
作者:小微
发表于:2026年03月03日
浏览量:67854

图片来源于网络,如有侵权,请联系删除
证券之星消息,根据天眼查APP数据显示坚朗五金(002791)新获得一项实用新型专利授权,专利名为“多角度调节支架抱箍构件及线缆安装设备”,专利申请号为CN202520417909.0,授权日为2026年3月3日。
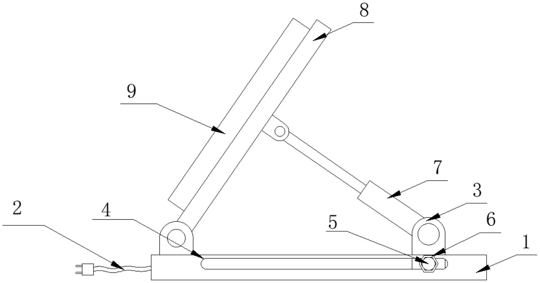
专利摘要:本实用新型涉及管廊工程技术领域,特别是涉及一种多角度调节支架抱箍构件及线缆安装设备,用于将线缆敷设于支架上,设置有抱箍组件、紧固件及连接架;抱箍组件用于供线缆穿过;抱箍组件通过紧固件与连接架连接,紧固件采用螺栓与螺母配合,简化安装过程,提高安装效率;其中连接架上设有弧形孔,紧固件与弧形孔配合,使得抱箍组件具备旋转调节角度的功能,抱箍组件相对连接架进行水平面内旋转,进而调整线缆的角度,能够满足管廊工程内复杂的线缆敷设需求,施工现场调整线缆至合适角度,提高线缆安装的灵活性和适应性。

图片来源于网络,如有侵权,请联系删除
今年以来坚朗五金新获得专利授权8个,较去年同期增加了166.67%。结合公司2025年中报财务数据,2025上半年公司在研发方面投入了1.16亿元,同比减14.41%。

图片来源于网络,如有侵权,请联系删除
通过天眼查大数据分析,广东坚朗五金制品股份有限公司共对外投资了62家企业,参与招投标项目1218次;财产线索方面有商标信息490条,专利信息1331条,著作权信息10条;此外企业还拥有行政许可206个。
数据来源:天眼查APP
以上内容为证券之星据公开信息整理,由AI算法生成(网信算备310104345710301240019号),不构成投资建议。
