祥和实业获得发明专利授权:“一种橡胶密炼机上的加料装置”
作者:小微
发表于:2026年02月28日
浏览量:70487

图片来源于网络,如有侵权,请联系删除
证券之星消息,根据天眼查APP数据显示祥和实业(603500)新获得一项发明专利授权,专利名为“一种橡胶密炼机上的加料装置”,专利申请号为CN202211029630.2,授权日为2026年2月27日。
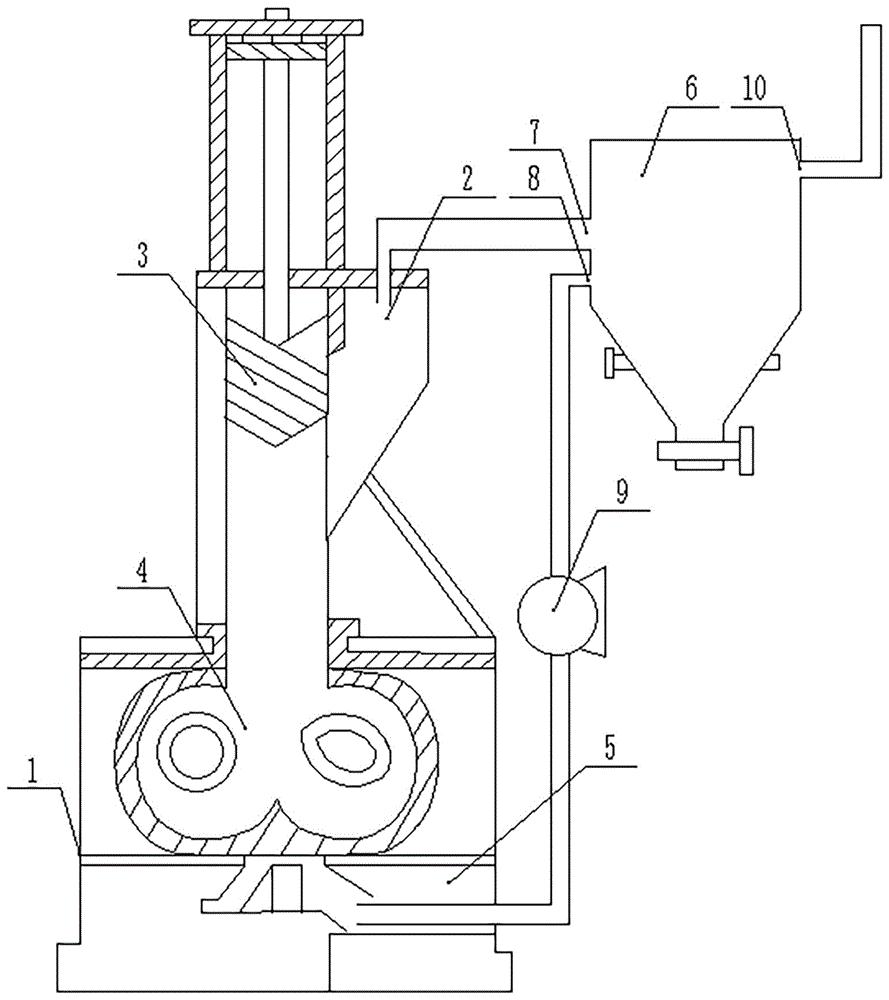
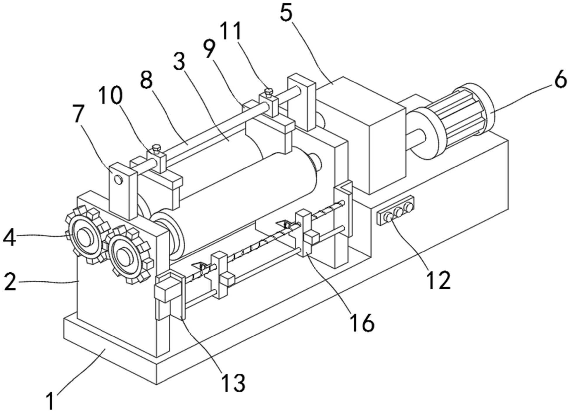
专利摘要:本发明公开了一种橡胶密炼机上的加料装置,包括橡胶密炼机上的加料口,加料口的两侧设有侧立并相对的支架板,支架板之间插设有横向圆筒形的加料仓,加料仓的两侧端面分别抵靠在支架板上,支架板的内侧壁上成型有圆形的定位凸台,定位凸台插接在加料仓内;所述加料仓下端的外壁上抵靠有圆弧形的挡料板,挡料板的底端成型有与加料口正对的出口,出口前、后侧的挡料板上固定有斜置的密封板,密封板的两侧和挡料板的两侧均分别固定在支架板的内侧壁上。

图片来源于网络,如有侵权,请联系删除
今年以来祥和实业新获得专利授权1个。结合公司2025年中报财务数据,2025上半年公司在研发方面投入了1686.6万元,同比减16.23%。

图片来源于网络,如有侵权,请联系删除
通过天眼查大数据分析,浙江天台祥和实业股份有限公司共对外投资了8家企业,参与招投标项目91次;财产线索方面有商标信息12条,专利信息96条;此外企业还拥有行政许可12个。
数据来源:天眼查APP
以上内容为证券之星据公开信息整理,由AI算法生成(网信算备310104345710301240019号),不构成投资建议。
