长高电新获得发明专利授权:“带电处理水平型隔离开关触头发热的短接装置”
作者:小微
发表于:2026年02月18日
浏览量:66339

图片来源于网络,如有侵权,请联系删除
证券之星消息,根据天眼查APP数据显示长高电新(002452)新获得一项发明专利授权,专利名为“带电处理水平型隔离开关触头发热的短接装置”,专利申请号为CN202211073357.3,授权日为2026年2月17日。
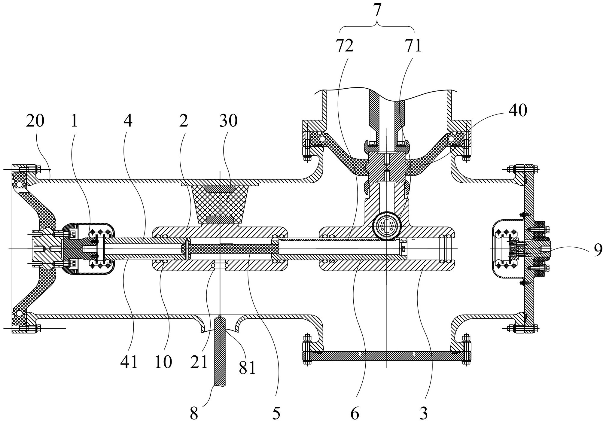
专利摘要:本发明提供了一种带电处理水平型隔离开关触头发热的短接装置,包括安装架、静触头接触组件、导电杆接触组件以及绝缘安装组件;其中,安装架包括静触头安装部和导电杆安装部,静触头安装部与静触头接触组件固定连接,导电杆安装部与导电杆接触组件固定连接;静触头接触组件包括用于与隔离开关的静触头弯板相接触的第一接触部,导电杆接触组件包括用于与隔离开关的导电杆相接触的第二接触部;第一接触部和第二接触部均竖向设置;安装架上开设有与绝缘安装组件可拆卸式连接的安装孔。本发明在减缓水平型隔离开关触头温升方面效果显著、操作简单,值得推广。

图片来源于网络,如有侵权,请联系删除
今年以来长高电新新获得专利授权4个,较去年同期增加了100%。结合公司2025年中报财务数据,2025上半年公司在研发方面投入了6119.99万元,同比增75.08%。

图片来源于网络,如有侵权,请联系删除
通过天眼查大数据分析,长高电新科技股份公司共对外投资了24家企业,参与招投标项目336次;财产线索方面有商标信息61条,专利信息392条;此外企业还拥有行政许可34个。
数据来源:天眼查APP
以上内容为证券之星据公开信息整理,由AI算法生成(网信算备310104345710301240019号),不构成投资建议。
