华润江中获得实用新型专利授权:“一种包衣机取料装置及包衣机”
作者:小微
发表于:2026年02月13日
浏览量:62262

图片来源于网络,如有侵权,请联系删除
证券之星消息,根据天眼查APP数据显示华润江中(600750)新获得一项实用新型专利授权,专利名为“一种包衣机取料装置及包衣机”,专利申请号为CN202422894379.7,授权日为2026年2月13日。
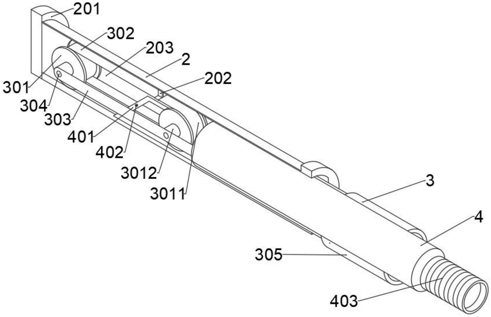
专利摘要:本实用新型提供一种包衣机取料装置及包衣机,涉及包衣机设备技术领域,该包括取样管、套设在所述取样管外侧的旋转组件、套设在所述旋转组件外侧用于与包衣机连接的固定座以及设置在所述固定座上的限位件,所述旋转组件包括套设在所述取样管外侧的旋转轴和设在所述旋转轴上的固定件,所述固定件用于将所述取样管与所述旋转轴固定,所述旋转轴一侧向外延伸有限位杆,所述限位杆与所述限位件配合用于限制所述取样管的旋转角度,所述取样管包括与所述旋转轴连接的竖直部设置在所述竖直部一侧的折弯部,所述折弯部用于取料。本实用新型中的包衣机取料装置,解决了现有技术中的缺少一种不影响包衣效果且准确定量取样的包衣机取料装置及包衣机的问题。

图片来源于网络,如有侵权,请联系删除
今年以来华润江中新获得专利授权4个,较去年同期增加了100%。结合公司2025年中报财务数据,2025上半年公司在研发方面投入了6742.93万元,同比减1.79%。
通过天眼查大数据分析,华润江中药业股份有限公司共对外投资了21家企业,参与招投标项目7528次;财产线索方面有商标信息1459条,专利信息719条,著作权信息56条;此外企业还拥有行政许可166个。
数据来源:天眼查APP
以上内容为证券之星据公开信息整理,由AI算法生成(网信算备310104345710301240019号),不构成投资建议。
