八一钢铁获得实用新型专利授权:“电动门防坠落装置”
作者:小微
发表于:2026年02月03日
浏览量:71333

图片来源于网络,如有侵权,请联系删除
证券之星消息,根据天眼查APP数据显示八一钢铁(600581)新获得一项实用新型专利授权,专利名为“电动门防坠落装置”,专利申请号为CN202520180447.5,授权日为2026年2月3日。
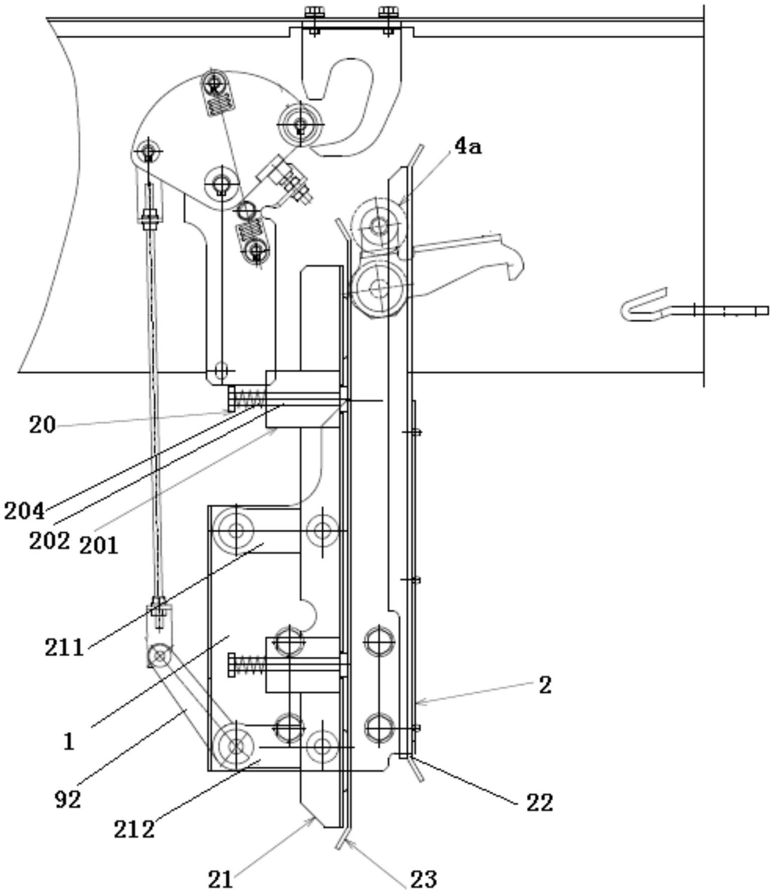
专利摘要:本实用新型属于电动门技术领域,具体公开了电动门防坠落装置,包括底座,底座的顶部安装有门框,门框的内部两侧壁上对称开设有滑槽,门框的内侧壁且位于滑槽的两侧对称开设有安装槽,滑槽的内部之间安装有升降门,升降门的顶部安装有速度传感器,升降门的顶部两端之间安装有支撑架,支撑架的底部安装有弧形弹片,支撑架的底部且穿过弧形弹片安装有活动杆,活动杆的底部两侧对称安装有调节杆,调节杆的底部且远离活动杆的一端安装有固定块,固定块的外部两端对称安装有限位块。本实用新型可以避免升降门外部的钢丝绳断裂导致升降门坠落,并且操作便利。

图片来源于网络,如有侵权,请联系删除
今年以来八一钢铁新获得专利授权32个。结合公司2025年中报财务数据,2025上半年公司在研发方面投入了8167.75万元,同比减48.31%。
通过天眼查大数据分析,新疆八一钢铁股份有限公司共对外投资了5家企业,参与招投标项目5077次;财产线索方面有商标信息8条,专利信息3658条,著作权信息2条;此外企业还拥有行政许可174个。
数据来源:天眼查APP
以上内容为证券之星据公开信息整理,由AI算法生成(网信算备310104345710301240019号),不构成投资建议。
