歌尔股份获得发明专利授权:“模具结构”
作者:小微
发表于:2026年01月31日
浏览量:76385

图片来源于网络,如有侵权,请联系删除
证券之星消息,根据天眼查APP数据显示歌尔股份(002241)新获得一项发明专利授权,专利名为“模具结构”,专利申请号为CN202511440867.3,授权日为2026年1月30日。
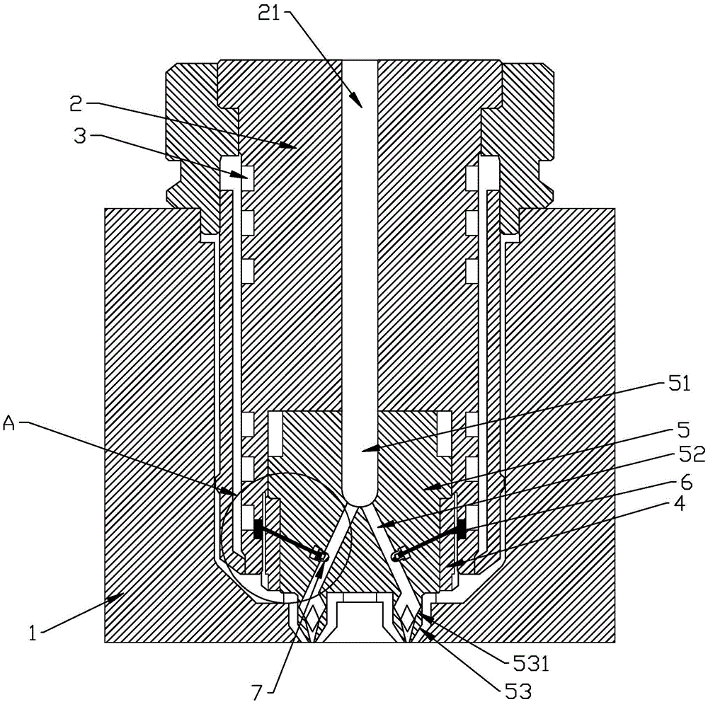
专利摘要:本发明公开一种模具结构,涉及模具技术领域,模具结构包括上模座、下模座、顶出结构和驱动组件,上模座上设有上模芯;下模座与上模座在上下方向相对设置,下模座上设置有下模芯,下模芯上还设有连通注塑腔的流道,下模芯形成有连通注塑腔的第一顶出通道和连通流道的第二顶出通道;顶出结构包括第一顶出件和第二顶出件,第一顶出件沿上下方向活动穿设于第一顶出通道内,第二顶出件沿上下方向活动穿设于第二顶出通道内,驱动组件用于驱动第二顶出件和第一顶出件先后与注塑件料粑和注塑件主体接触。采用顶出后抽的方式,先通过第二顶出件将料粑从流道内顶出,再通过第一顶出件将注塑件从下模芯顶出,最终实现二次顶出。

图片来源于网络,如有侵权,请联系删除
今年以来歌尔股份新获得专利授权110个,较去年同期增加了74.6%。结合公司2025年中报财务数据,2025上半年公司在研发方面投入了23.54亿元,同比增15.81%。
通过天眼查大数据分析,歌尔股份有限公司共对外投资了44家企业,参与招投标项目255次;财产线索方面有商标信息172条,专利信息10438条,著作权信息46条;此外企业还拥有行政许可619个。
数据来源:天眼查APP
以上内容为证券之星据公开信息整理,由AI算法生成(网信算备310104345710301240019号),不构成投资建议。
