春晖智控获得实用新型专利授权:“流量电磁比例阀”
作者:小微
发表于:2026年01月30日
浏览量:65752

图片来源于网络,如有侵权,请联系删除
证券之星消息,根据天眼查APP数据显示春晖智控(300943)新获得一项实用新型专利授权,专利名为“流量电磁比例阀”,专利申请号为CN202520536871.9,授权日为2026年1月30日。
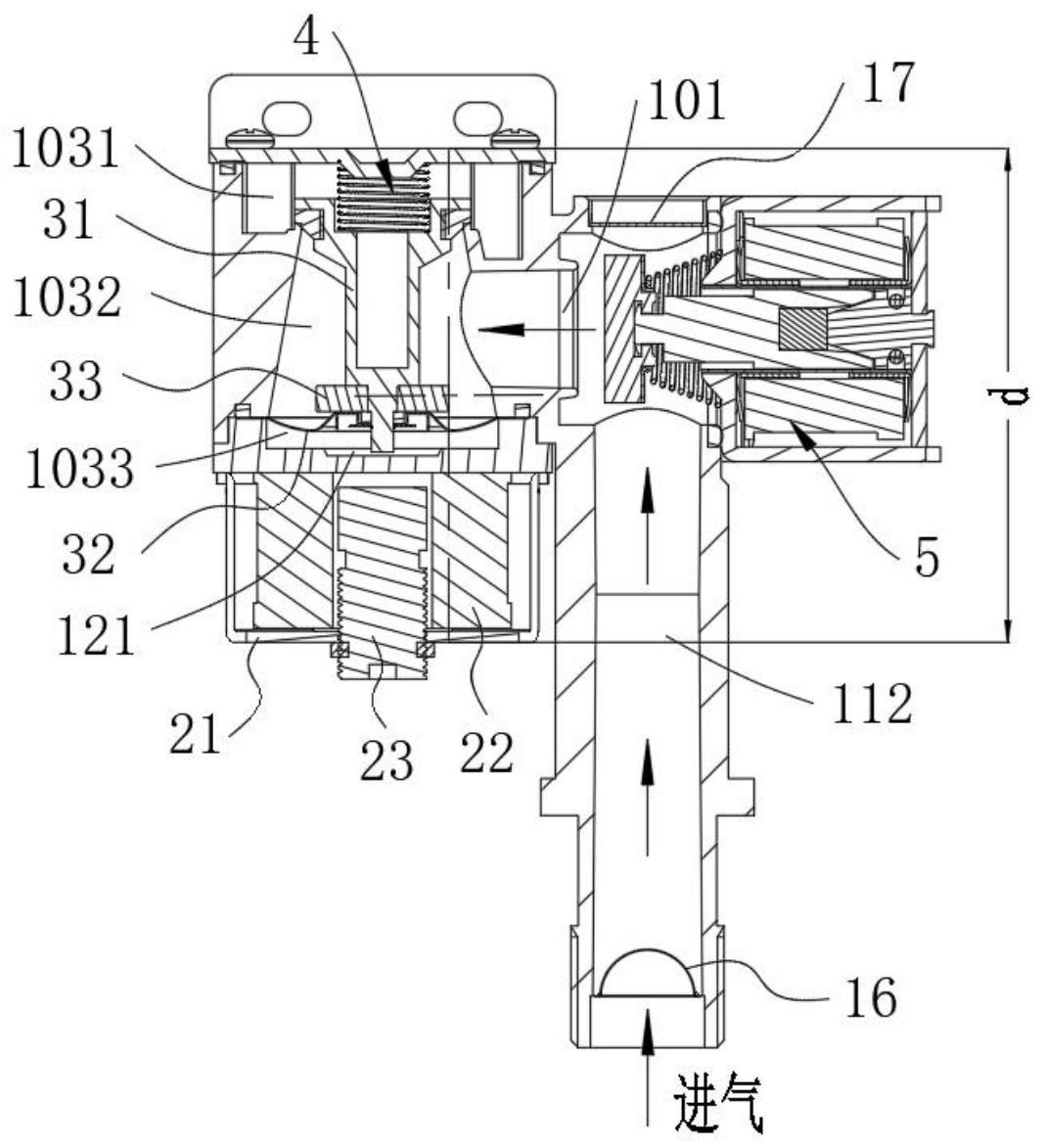
专利摘要:本实用新型公开了一种流量电磁比例阀,包括:通液管,设有进液口和出液口;阀体组件,与通液管相配合;线圈组件,与阀体组件相配合;过滤组件,设于通液管上;防回流组件,与通液管配合;防回流组件包括倾斜设于通液管上的安装套筒、螺接与安装套筒内壁上的固定螺栓、设于固定螺栓上的弹性件、设于弹性件端部上的密封块及设于通液管内壁上的密封凸起,固定螺栓开设有第一安装孔,密封块设有第二安装孔,密封块可相对第一安装孔内壁滑动,密封凸起开设有限位槽,密封块端部可与限位槽贴合。

图片来源于网络,如有侵权,请联系删除
今年以来春晖智控新获得专利授权5个。结合公司2025年中报财务数据,2025上半年公司在研发方面投入了1359.06万元,同比增4.42%。

图片来源于网络,如有侵权,请联系删除
通过天眼查大数据分析,浙江春晖智能控制股份有限公司共对外投资了8家企业,参与招投标项目294次;财产线索方面有商标信息4条,专利信息487条,著作权信息7条;此外企业还拥有行政许可22个。
数据来源:天眼查APP
以上内容为证券之星据公开信息整理,由AI算法生成(网信算备310104345710301240019号),不构成投资建议。
