海尔智家获得实用新型专利授权:“进风栅结构及吸顶机”
作者:小微
发表于:2026年01月30日
浏览量:53908

图片来源于网络,如有侵权,请联系删除
证券之星消息,根据天眼查APP数据显示海尔智家(600690)新获得一项实用新型专利授权,专利名为“进风栅结构及吸顶机”,专利申请号为CN202520035399.0,授权日为2026年1月30日。
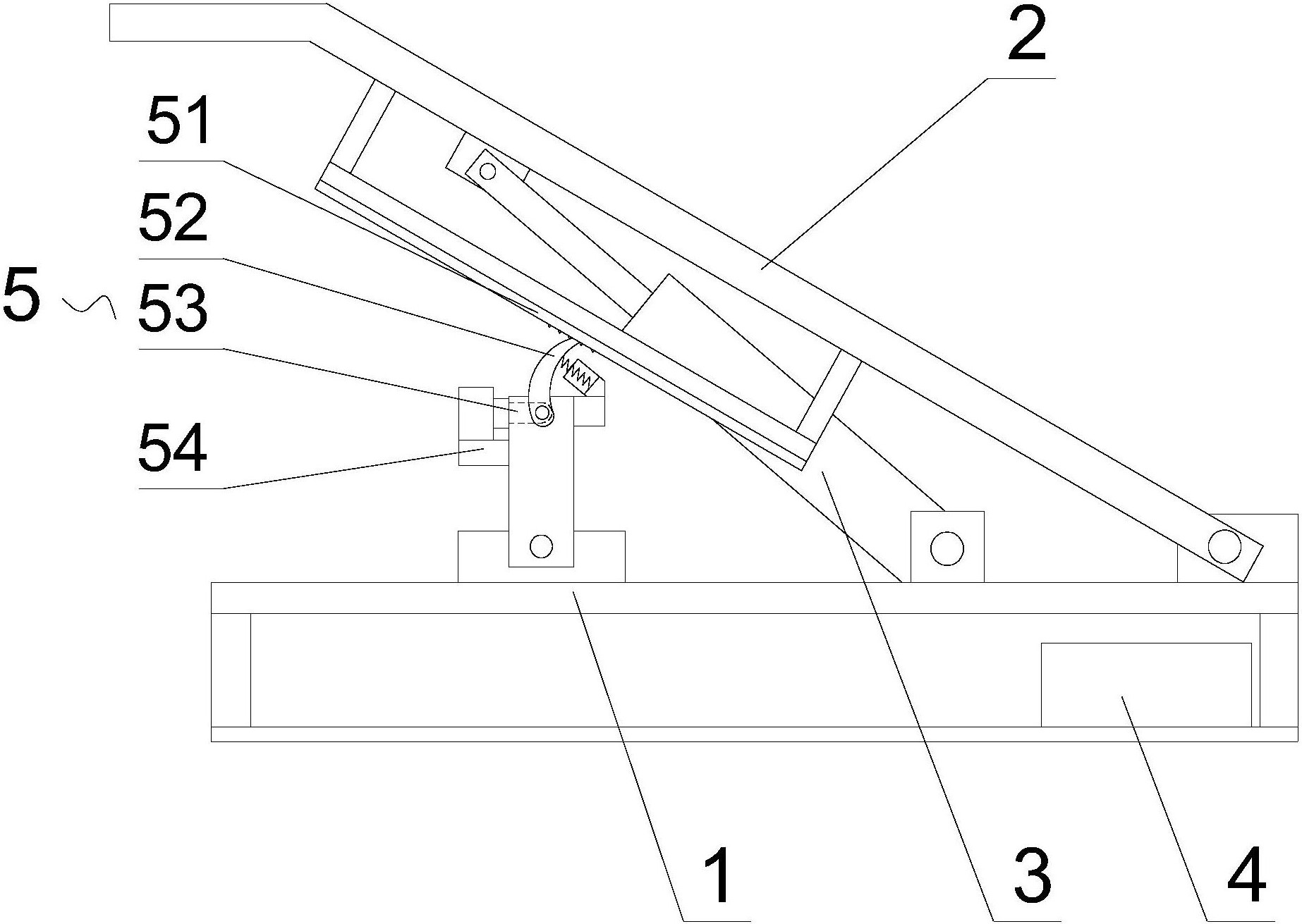
专利摘要:本申请提供一种进风栅结构及吸顶机,涉及空调领域,进风栅结构包括进风栅本体和插销组件:进风栅本体用于盖设在吸顶机的进风口处;插销组件包括固定座、插销轴和限位条,固定座设置在进风栅本体上,固定座上设置有第一插销孔和限位槽,插销轴设置在第一插销孔内,限位条设置在插销轴上,插销轴用于插接在吸顶机上。使用时,只需要推动插销轴插接在吸顶机上后,转动插销轴,使限位条进入至限位槽内就能实现进风栅本体的安装;当需要拆卸时,只需要转动插销轴,使得限位条脱离限位槽后,拉动插销轴脱离吸顶机即可实现进风栅本体拆卸,相比于现有的拆装多个螺钉才能实现进风栅的拆装,本申请拆装进风栅的效率更高,使用更加方便。

图片来源于网络,如有侵权,请联系删除
今年以来海尔智家新获得专利授权335个,较去年同期减少了30.06%。结合公司2025年中报财务数据,2025上半年公司在研发方面投入了57.9亿元,同比增11.73%。

图片来源于网络,如有侵权,请联系删除
通过天眼查大数据分析,海尔智家股份有限公司共对外投资了59家企业,参与招投标项目1905次;财产线索方面有商标信息378条,专利信息66415条,著作权信息53条;此外企业还拥有行政许可10个。
数据来源:天眼查APP
以上内容为证券之星据公开信息整理,由AI算法生成(网信算备310104345710301240019号),不构成投资建议。
