华电科工获得实用新型专利授权:“一种滩涂光伏施工平台”
作者:小微
发表于:2026年01月30日
浏览量:59620

图片来源于网络,如有侵权,请联系删除
证券之星消息,根据天眼查APP数据显示华电科工(601226)新获得一项实用新型专利授权,专利名为“一种滩涂光伏施工平台”,专利申请号为CN202423283883.X,授权日为2026年1月30日。
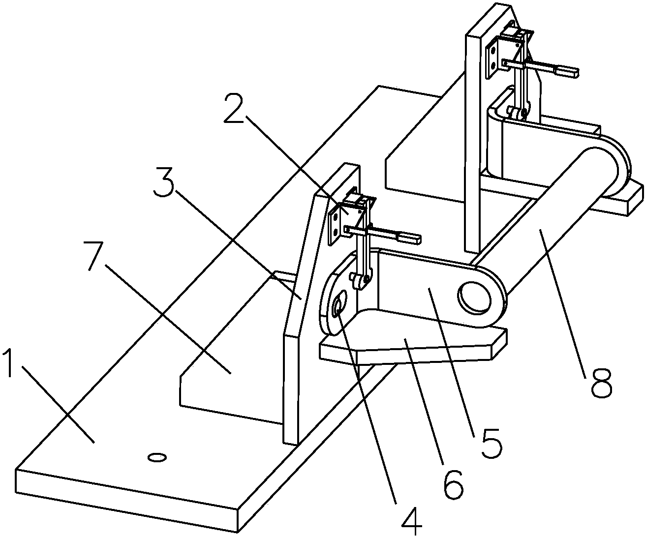
专利摘要:本发明公开了一种滩涂光伏施工平台,包括多根排列分布在滩涂上竖直设立的混凝土预制桩,还包括平台主结构,所述平台主结构的侧壁分布有连接立柱,所述连接立柱的侧壁底部设置有连接板,所述连接板靠近混凝土预制桩的一侧安装有定滑轮,所述连接立柱的侧壁顶部设置有电动葫芦,所述电动葫芦连接有钢丝绳的一端,所述钢丝绳的一端绕过定滑轮连接有抱箍,所述抱箍固定套接在混凝土预制桩上。本发明的施工平台固定在已打好的混凝土预制桩上,不受涨落潮影响,可业时间长且可控,安全性好,并且本发明平台结构设计巧妙,用料节省,操作方便,可以有效降低成本。

图片来源于网络,如有侵权,请联系删除
今年以来华电科工新获得专利授权16个,较去年同期增加了1500%。结合公司2025年中报财务数据,2025上半年公司在研发方面投入了1.37亿元,同比增25.43%。

图片来源于网络,如有侵权,请联系删除
通过天眼查大数据分析,华电科工股份有限公司共对外投资了11家企业,参与招投标项目19171次;财产线索方面有商标信息11条,专利信息1820条,著作权信息56条;此外企业还拥有行政许可24个。
数据来源:天眼查APP
以上内容为证券之星据公开信息整理,由AI算法生成(网信算备310104345710301240019号),不构成投资建议。
