老板电器获得实用新型专利授权:“一种吸油烟机”
作者:小微
发表于:2026年01月27日
浏览量:56358

图片来源于网络,如有侵权,请联系删除
证券之星消息,根据天眼查APP数据显示老板电器(002508)新获得一项实用新型专利授权,专利名为“一种吸油烟机”,专利申请号为CN202520348964.9,授权日为2026年1月27日。
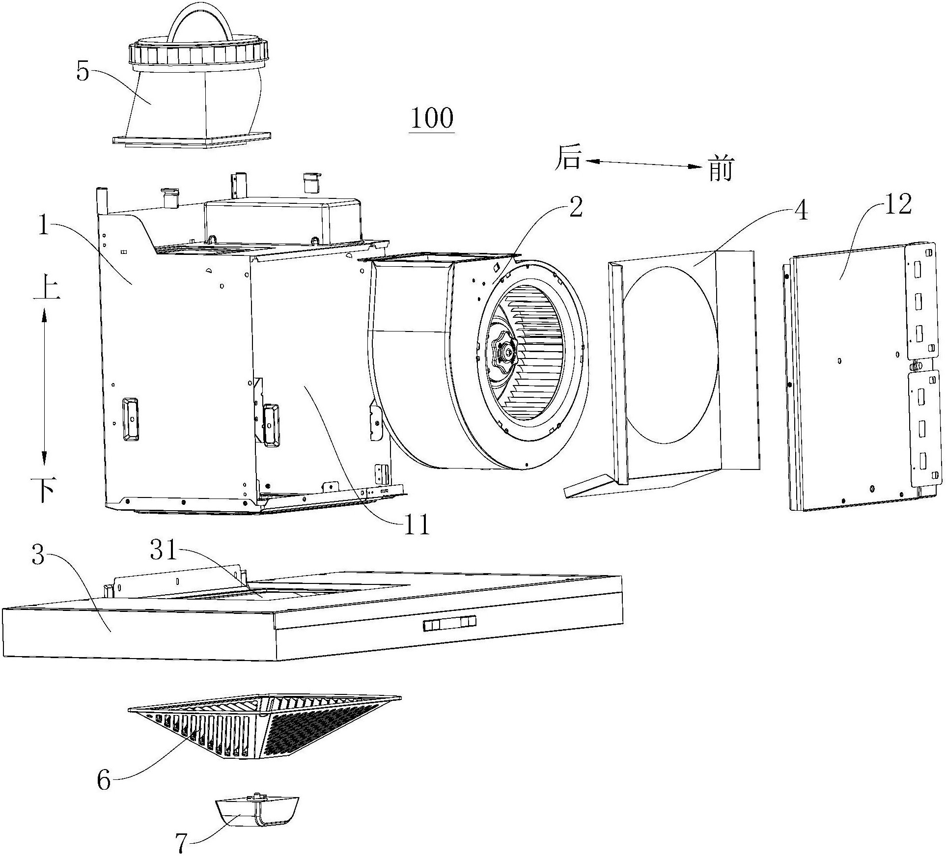
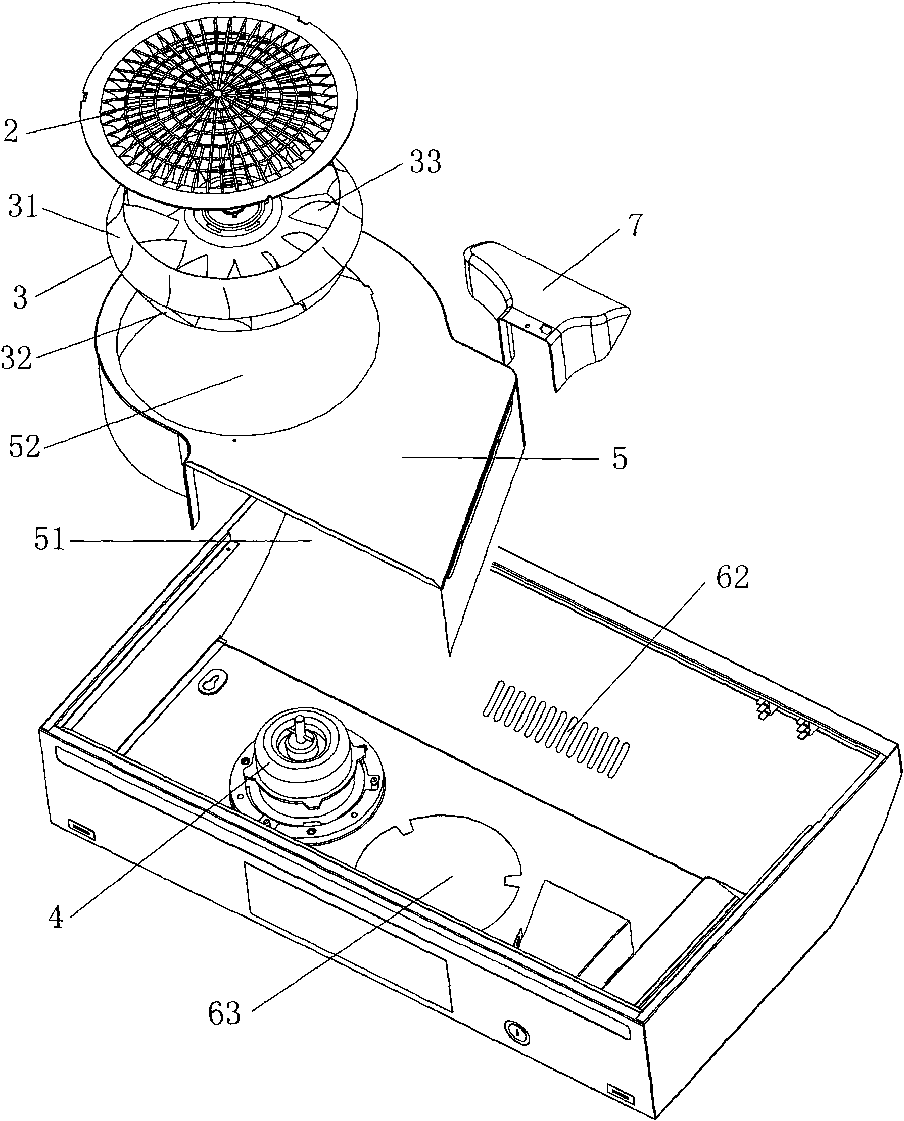
专利摘要:本实用新型提供了一种吸油烟机,涉及厨房电器技术领域,本实用新型提供的吸油烟机包括第一壳体组件和灯连接线,第一壳体组件具有集烟腔、与集烟腔连通的进风口以及位于进风口上方的穿线孔,灯连接线由集烟腔内自穿线孔穿出集烟腔,穿线孔的高度不低于灯连接线穿入穿线孔前在集烟腔内的最低点。本实用新型提供的吸油烟机可有效减少甚至避免油污顺延灯连接线继续流淌至灯体。

图片来源于网络,如有侵权,请联系删除
今年以来老板电器新获得专利授权119个,较去年同期增加了221.62%。结合公司2025年中报财务数据,2025上半年公司在研发方面投入了1.59亿元,同比减10.9%。

图片来源于网络,如有侵权,请联系删除
通过天眼查大数据分析,杭州老板电器股份有限公司共对外投资了25家企业,参与招投标项目375次;财产线索方面有商标信息684条,专利信息9870条,著作权信息257条;此外企业还拥有行政许可134个。
数据来源:天眼查APP
以上内容为证券之星据公开信息整理,由AI算法生成(网信算备310104345710301240019号),不构成投资建议。
