宁德时代获得发明专利授权:“电池单体及其制造方法和制造系统、电池以及用电装置”
作者:小微
发表于:2025年07月29日
浏览量:73573

图片来源于网络,如有侵权,请联系删除
证券之星消息,根据天眼查APP数据显示宁德时代(300750)新获得一项发明专利授权,专利名为“电池单体及其制造方法和制造系统、电池以及用电装置”,专利申请号为CN202180087229.1,授权日为2025年7月29日。
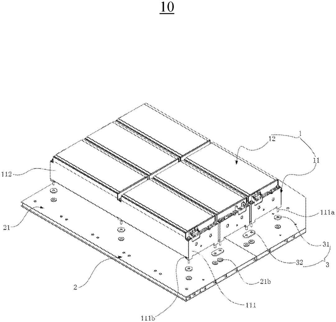
专利摘要:本申请实施例提供一种电池单体及其制造方法和制造系统、电池以及用电装置。本申请实施例的电池单体包括:电极组件,包括第一极耳;外壳,用于容纳电极组件,外壳包括壁部,壁部设有电极引出孔;电极端子,安装于电极引出孔;以及集流构件,位于壁部和第一极耳之间并用于连接电极端子和第一极耳。电极端子通过在面向第一极耳的一端开设第一凹部并向外翻折第一凹部的侧壁,以固定于壁部,集流构件与第一凹部的底面相抵并连接。本申请可以降低电极端子的案子难度,改善改善电池单体的装配工艺。
今年以来宁德时代新获得专利授权2473个,较去年同期增加了14.86%。结合公司2024年年报财务数据,2024年公司在研发方面投入了186.07亿元,同比增1.37%。
通过天眼查大数据分析,宁德时代新能源科技股份有限公司共对外投资了137家企业,参与招投标项目499次;财产线索方面有商标信息1259条,专利信息19177条,著作权信息396条;此外企业还拥有行政许可984个。
数据来源:天眼查APP
以上内容为证券之星据公开信息整理,由AI算法生成(网信算备310104345710301240019号),不构成投资建议。
