格力电器获得实用新型专利授权:“一种连接件及包含其的机器人吸盘”
作者:小微
发表于:2025年07月22日
浏览量:66349

图片来源于网络,如有侵权,请联系删除
证券之星消息,根据天眼查APP数据显示格力电器(000651)新获得一项实用新型专利授权,专利名为“一种连接件及包含其的机器人吸盘”,专利申请号为CN202422441171.X,授权日为2025年7月22日。
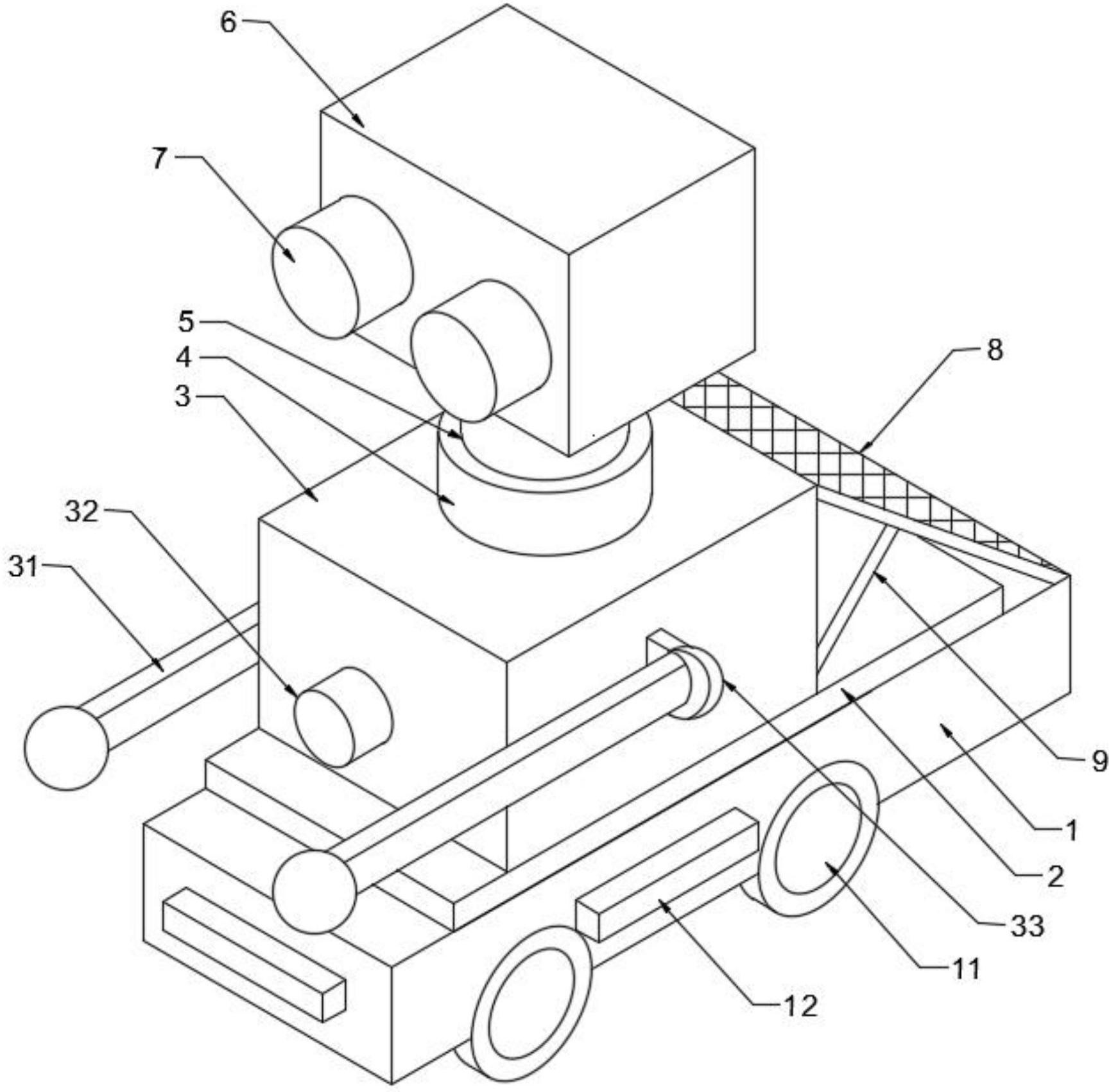
专利摘要:本实用新型提供了一种连接件及包含其的机器人吸盘,涉及机器人连接结构技术领域,解决了连接件无法调节吸盘水平度的技术问题。该连接件为U形结构,包括依次设置的第一横板、竖板和第二横板;第二横板用于与吸盘连接;第一横板用于与机器人手臂末端的驱动轴连接;还包括设置在第一横板上的水平调节组件,通过水平调节组件能调节连接件相对于机器人手臂末端的水平度,从而实现吸盘的水平度调节;第一横板和第二横板上分别设置有第一轴孔和第二轴孔。本实用新型采用镂空的金属连接件,实现了机器人驱动轴和插装吸盘同轴心,提高了插装精度,依靠连接板预留的顶升定位螺孔,通过夹板与顶丝拧紧紧固产生连接板微小形变实现水平的精度较高的调平。
今年以来格力电器新获得专利授权3714个,较去年同期减少了4.23%。结合公司2024年年报财务数据,2024年公司在研发方面投入了69.04亿元,同比增2.1%。
通过天眼查大数据分析,珠海格力电器股份有限公司共对外投资了101家企业,参与招投标项目27988次;财产线索方面有商标信息8135条,专利信息115189条,著作权信息297条;此外企业还拥有行政许可827个。
数据来源:天眼查APP
以上内容为证券之星据公开信息整理,由AI算法生成(网信算备310104345710301240019号),不构成投资建议。
