软控股份获得实用新型专利授权:“帘布裁断装置”
作者:小微
发表于:2025年07月22日
浏览量:78866

图片来源于网络,如有侵权,请联系删除
证券之星消息,根据天眼查APP数据显示软控股份(002073)新获得一项实用新型专利授权,专利名为“帘布裁断装置”,专利申请号为CN202422472027.2,授权日为2025年7月22日。
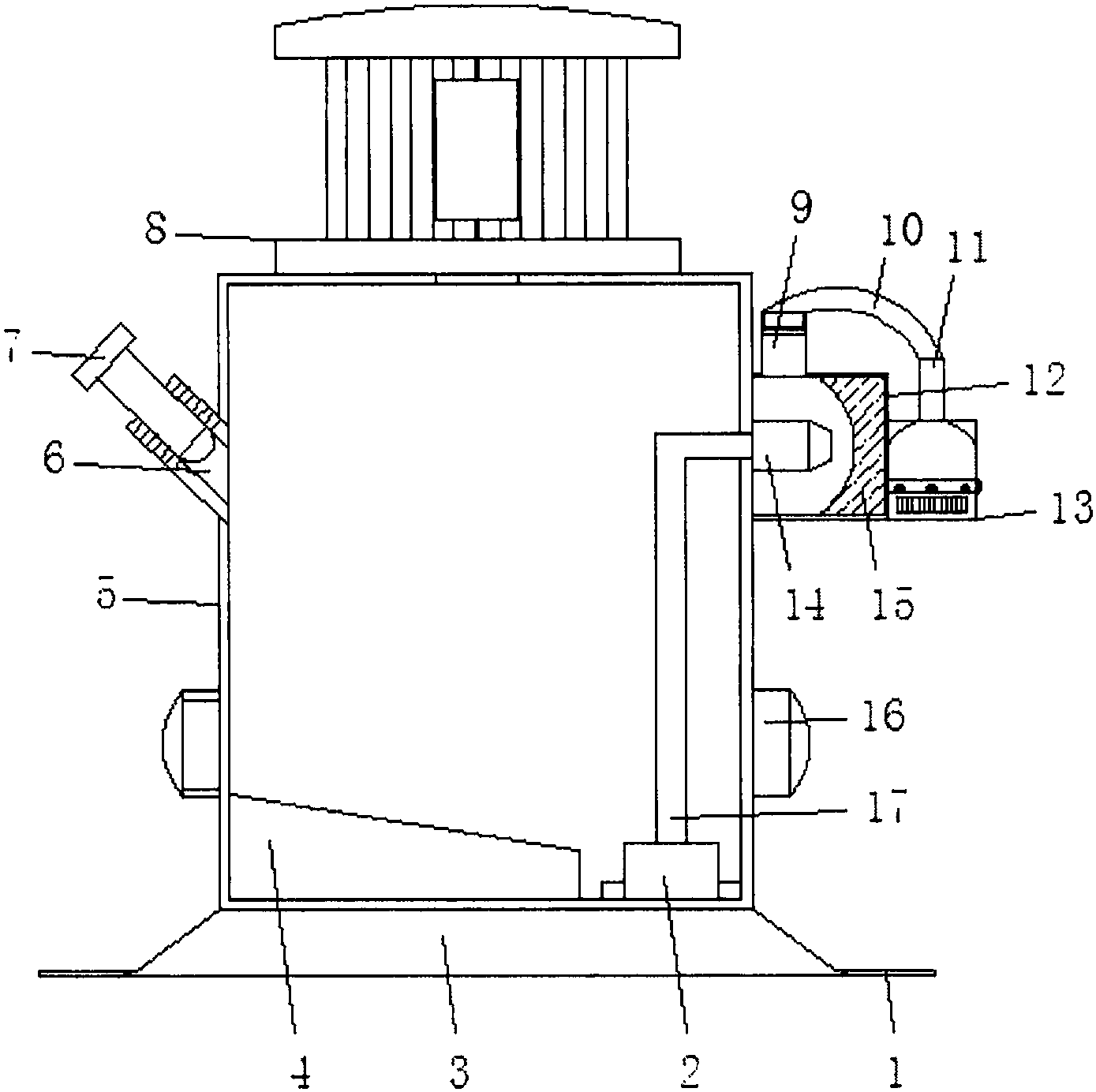
专利摘要:本实用新型提供了一种帘布裁断装置,帘布裁断装置包括:机体、输送机构和裁断机构,输送机构与机体活动连接并沿第一方向输送帘布;裁断机构位于输送机构的上方,且相对于机体可转动设置,裁断机构包括裁刀,裁断机构摆转时带动裁刀在避让帘布输送的避让状态和裁切帘布的裁切状态之间运动,裁刀处于裁切状态时能够沿与第一方向形成夹角的第二方向运动以裁切帘布。本实用新型解决了现有技术中的帘布裁切质量较差的问题。

图片来源于网络,如有侵权,请联系删除
今年以来软控股份新获得专利授权65个,较去年同期增加了27.45%。结合公司2024年年报财务数据,2024年公司在研发方面投入了4.06亿元,同比增13.36%。

图片来源于网络,如有侵权,请联系删除
通过天眼查大数据分析,软控股份有限公司共对外投资了27家企业,参与招投标项目25次;财产线索方面有商标信息98条,专利信息1588条,著作权信息169条;此外企业还拥有行政许可17个。
数据来源:天眼查APP
以上内容为证券之星据公开信息整理,由AI算法生成(网信算备310104345710301240019号),不构成投资建议。
