盛美上海获得发明专利授权:“旋转轴及包含所述旋转轴的基板支撑装置”
作者:小微
发表于:2025年07月19日
浏览量:58141

图片来源于网络,如有侵权,请联系删除
证券之星消息,根据天眼查APP数据显示盛美上海(688082)新获得一项发明专利授权,专利名为“旋转轴及包含所述旋转轴的基板支撑装置”,专利申请号为CN201911085484.3,授权日为2025年7月18日。
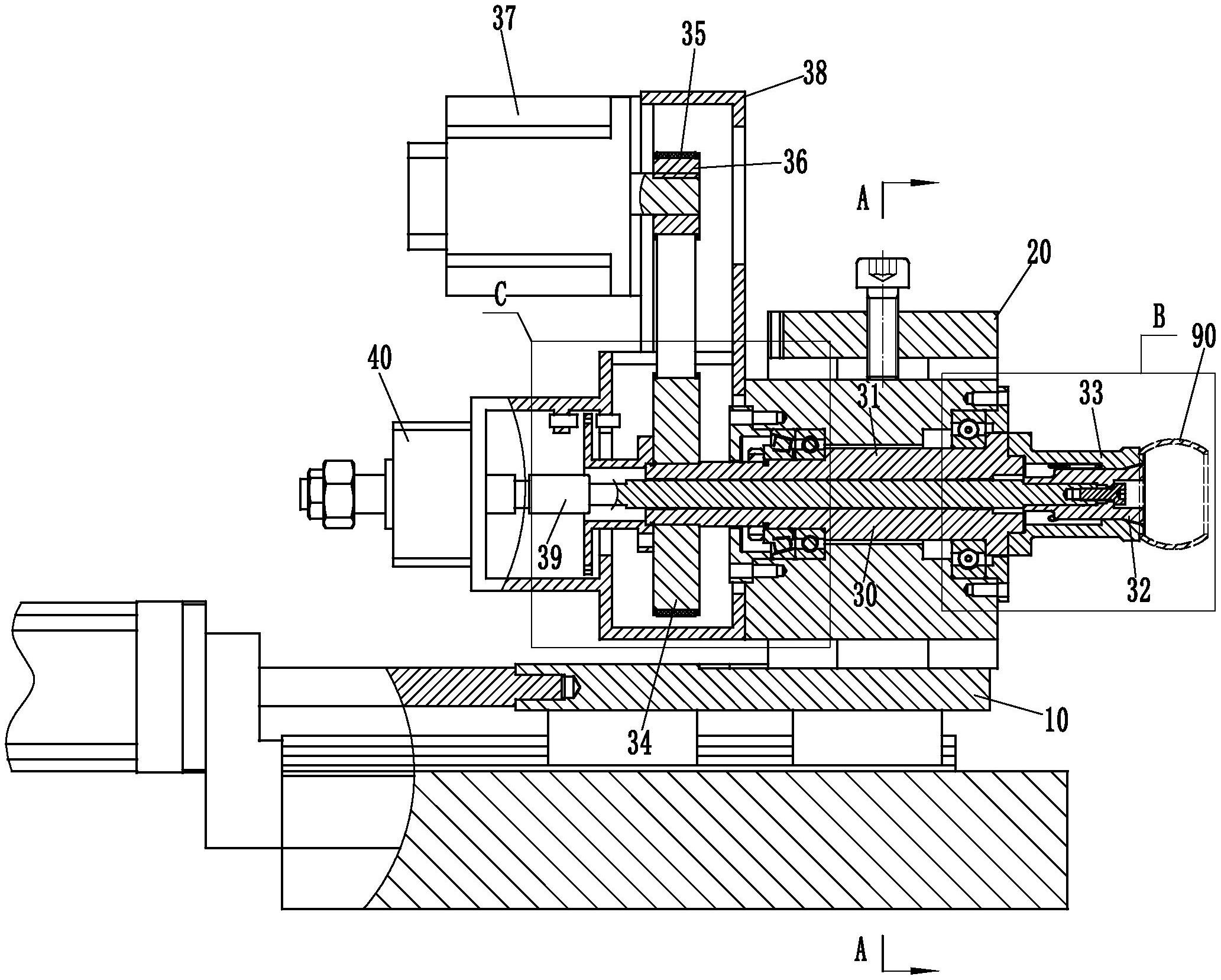
专利摘要:本发明提供了一种旋转轴及包含旋转轴的基板支撑装置,旋转轴包括:设有通气管道的中心转轴;设置于中心转轴的外围的中空外轴,且中空外轴与中心转轴具有设定的间距;环绕中空外轴内壁且连通通气管道的导气槽;设置于中空外轴且连通导气槽的供气管道;成对设置于中心转轴的密封环凸,通气管道进气口在中心转轴轴线方向上位于成对的密封环凸之间;成对设置于中空外轴的密封环槽,导气槽在中心转轴轴线方向上位于成对的密封环槽之间;密封环凸嵌设于密封环槽中。本发明通过在旋转轴中的导气槽与供气管道的邻近位置设置密封环凸与密封环槽,在确保中心转轴与中空外轴不会直接接触的同时,也增强了旋转轴密封结构的密封性,提升了装置的工艺稳定性。

图片来源于网络,如有侵权,请联系删除
今年以来盛美上海新获得专利授权12个,较去年同期增加了200%。结合公司2024年年报财务数据,2024年公司在研发方面投入了7.29亿元,同比增18.47%。
通过天眼查大数据分析,盛美半导体设备(上海)股份有限公司共对外投资了17家企业,参与招投标项目167次;财产线索方面有商标信息34条,专利信息580条;此外企业还拥有行政许可30个。
数据来源:天眼查APP
以上内容为证券之星据公开信息整理,由AI算法生成(网信算备310104345710301240019号),不构成投资建议。
