泰尔股份获得发明专利授权:“一种旋转轴上的润滑装置”
作者:小微
发表于:2025年07月12日
浏览量:69212

图片来源于网络,如有侵权,请联系删除
证券之星消息,根据天眼查APP数据显示泰尔股份(002347)新获得一项发明专利授权,专利名为“一种旋转轴上的润滑装置”,专利申请号为CN201911054387.8,授权日为2025年7月11日。
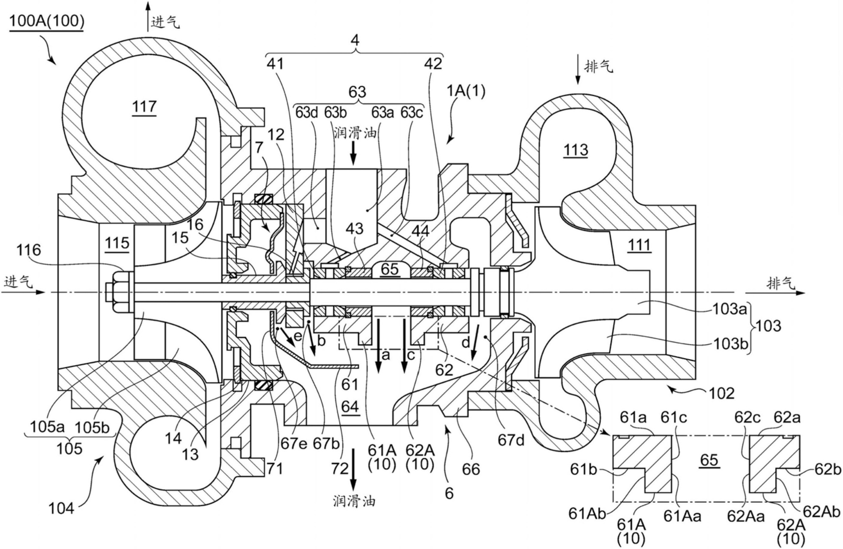
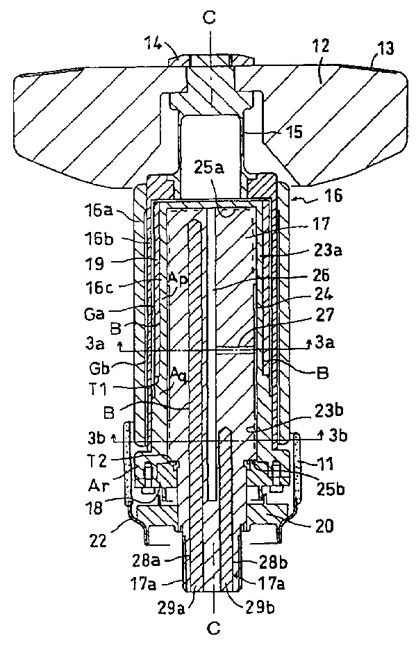
专利摘要:本发明公开了一种旋转轴上的润滑装置,它包括旋转轴、左右两个固定圈、内环、外环、外部连接部件、左右两个盖板、密封件;内环套在旋转轴上,外环套在内环外,两者的径向之间设置有若干个轴承组件;左右两个固定圈分别与内环的左右两端面固定连接,且固定圈抱紧旋转轴,左右两个盖板套在内环上,且分别与外环的左右两端面固定连接;外环与外部连接部件连接,外环与内环之间设置有密封件。本发明润滑装置的内外环使用寿命长,大大降低了生产成本,同时确保了润滑油的供给,保证了设备的正常工作。同时,在旋转轴有震动的情况下,它可以减小外环的震动,减少外环和内环之间的冲击,从而提高润滑装置工作的稳定性。

图片来源于网络,如有侵权,请联系删除
今年以来泰尔股份新获得专利授权19个,较去年同期减少了45.71%。结合公司2024年年报财务数据,2024年公司在研发方面投入了6404.78万元,同比增8.97%。

图片来源于网络,如有侵权,请联系删除
通过天眼查大数据分析,泰尔重工股份有限公司共对外投资了25家企业,参与招投标项目1819次;财产线索方面有商标信息74条,专利信息543条,著作权信息45条;此外企业还拥有行政许可9个。
数据来源:天眼查APP
以上内容为证券之星据公开信息整理,由AI算法生成(网信算备310104345710301240019号),不构成投资建议。
