格力电器获得发明专利授权:“移载装置及输送线”
作者:小微
发表于:2025年07月09日
浏览量:65075

图片来源于网络,如有侵权,请联系删除
证券之星消息,根据天眼查APP数据显示格力电器(000651)新获得一项发明专利授权,专利名为“移载装置及输送线”,专利申请号为CN202010785679.5,授权日为2025年7月8日。
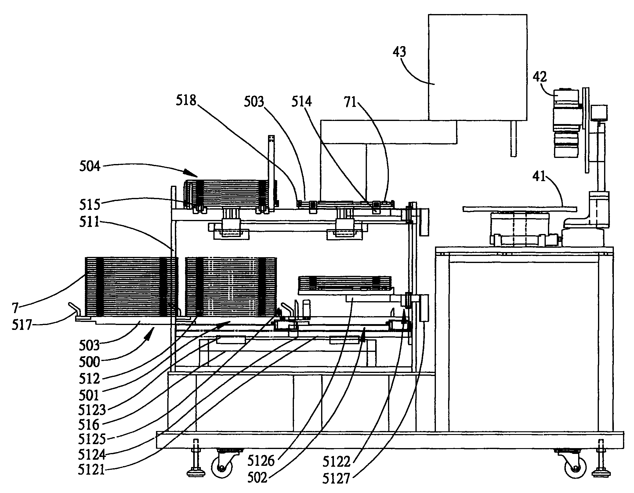
专利摘要:本发明公开了一种移载装置及输送线,移载装置包括支撑座,设在支撑座上并承接在两个线体间的移动座,设于移动座上的传送部,设于传送部和移动座之间的旋转装置;支撑座上设有导轨,移动座底部设有滑块;支撑座还设有齿条,移动座还设有第一齿轮以及第一驱动装置;旋转装置包括第二齿轮、第三齿轮和第二驱动装置;移动座还包括定位柱;移载装置还包括伸缩装置;传送部包括底板和皮带。与现有技术比较,本发明能够实现相邻的两个呈任意角度设置的线体之间的物料中转,以实现不平行的线体的物料转运。

图片来源于网络,如有侵权,请联系删除
今年以来格力电器新获得专利授权3428个,较去年同期减少了5.43%。结合公司2024年年报财务数据,2024年公司在研发方面投入了69.04亿元,同比增2.1%。

图片来源于网络,如有侵权,请联系删除
通过天眼查大数据分析,珠海格力电器股份有限公司共对外投资了100家企业,参与招投标项目27322次;财产线索方面有商标信息8134条,专利信息114427条,著作权信息297条;此外企业还拥有行政许可827个。
数据来源:天眼查APP
以上内容为证券之星据公开信息整理,由AI算法生成(网信算备310104345710301240019号),不构成投资建议。
