航亚科技获得发明专利授权:“一种燃气轮机压气机鼓筒惯性摩擦焊接的工装”
作者:小微
发表于:2025年06月28日
浏览量:60350

图片来源于网络,如有侵权,请联系删除
证券之星消息,根据天眼查APP数据显示航亚科技(688510)新获得一项发明专利授权,专利名为“一种燃气轮机压气机鼓筒惯性摩擦焊接的工装”,专利申请号为CN202310172525.2,授权日为2025年6月27日。
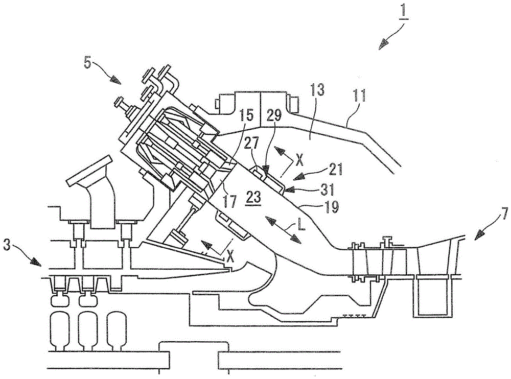
专利摘要:本发明提供了一种燃气轮机压气机鼓筒惯性摩擦焊接的工装,其能够在用于摩擦焊接压气机鼓筒盘时,不仅能够保证工件同轴度,而且能在摩擦焊接过程中提供弹性约束,减少焊接时因刚性约束产生过大的应力导致鼓筒盘变形或者磨损,同时还能对压气机鼓筒盘提供弹性约束。其包括固定端工装和旋转端工装,固定端工装包括筒形调整块、滚轮套环、套筒一、弹性夹套;弹性夹套的端部抵接有环形的锥套一,锥套一的内壁具有锥面并且该锥面与弹性套筒一外壁的锥面相贴合;旋转端工装包括套筒二;套筒二内安装有环形的锥套二,锥套一的内壁具有锥面并且该锥面与弹性套筒二的外壁的锥面相贴合;旋转端工装还包括盘心变形约束装置。

图片来源于网络,如有侵权,请联系删除
今年以来航亚科技新获得专利授权8个,较去年同期增加了166.67%。结合公司2024年年报财务数据,2024年公司在研发方面投入了6120.31万元,同比增26.8%。

图片来源于网络,如有侵权,请联系删除
通过天眼查大数据分析,无锡航亚科技股份有限公司共对外投资了3家企业,参与招投标项目73次;财产线索方面有商标信息7条,专利信息162条,著作权信息16条;此外企业还拥有行政许可51个。
数据来源:天眼查APP
以上内容为证券之星据公开信息整理,由AI算法生成(网信算备310104345710301240019号),不构成投资建议。
