楚天科技获得实用新型专利授权:“一种数粒灌装生产线”
作者:小微
发表于:2025年06月24日
浏览量:61681

图片来源于网络,如有侵权,请联系删除
证券之星消息,根据天眼查APP数据显示楚天科技(300358)新获得一项实用新型专利授权,专利名为“一种数粒灌装生产线”,专利申请号为CN202421655805.5,授权日为2025年6月24日。
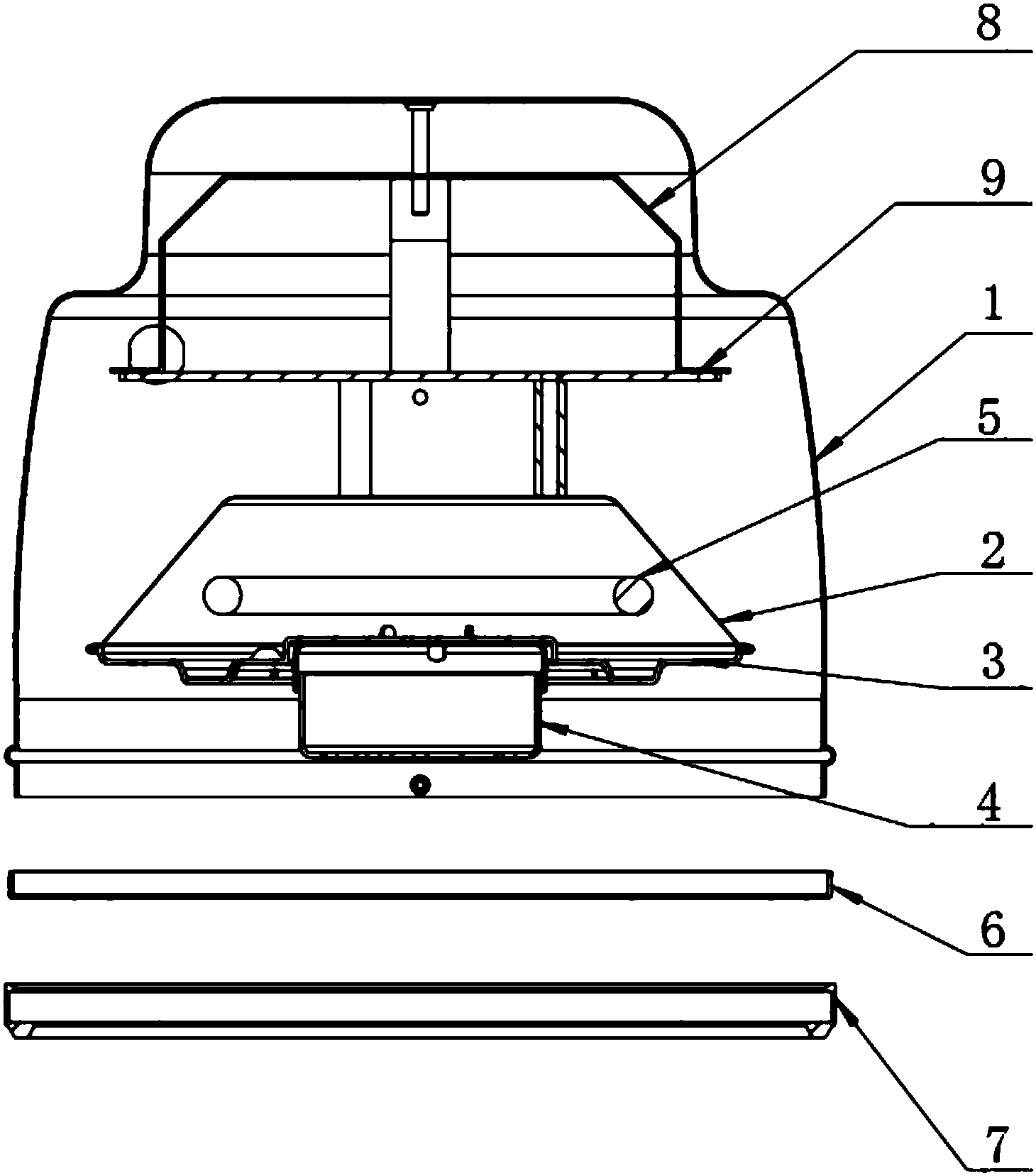
专利摘要:本实用新型公开了一种数粒灌装生产线,包括进瓶输送装置和出瓶输送装置,还包括转运输送装置和数粒灌装装置,所述转运输送装置包括第一循环输送带第二循环输送带和挡瓶机构,所述第一循环输送带上间隔布置有多个第一瓶托夹,所述第二循环输送带上间隔布置有多个第二瓶托夹,所述第一瓶托夹和第二瓶托夹交错布置,所述第一瓶托夹和第二瓶托夹上均设有瓶托,所述挡瓶机构用于对进瓶输送装置输入后,出瓶输送装置输出前的瓶体进行挡瓶,所述进瓶输送装置、数粒灌装装置和出瓶输送装置依次沿转运输送装置的输送方向布置。本实用新型具有适应性强,生产效率高的优点。

图片来源于网络,如有侵权,请联系删除
今年以来楚天科技新获得专利授权171个,较去年同期增加了33.59%。结合公司2024年年报财务数据,2024年公司在研发方面投入了6.25亿元,同比增6.41%。
通过天眼查大数据分析,楚天科技股份有限公司共对外投资了23家企业,参与招投标项目743次;财产线索方面有商标信息125条,专利信息4896条,著作权信息222条;此外企业还拥有行政许可245个。
数据来源:天眼查APP
以上内容为证券之星据公开信息整理,由AI算法生成(网信算备310104345710301240019号),不构成投资建议。
