春风动力获得实用新型专利授权:“动力总成”
作者:小微
发表于:2025年06月20日
浏览量:83271

图片来源于网络,如有侵权,请联系删除
证券之星消息,根据天眼查APP数据显示春风动力(603129)新获得一项实用新型专利授权,专利名为“动力总成”,专利申请号为CN202422193510.7,授权日为2025年6月20日。
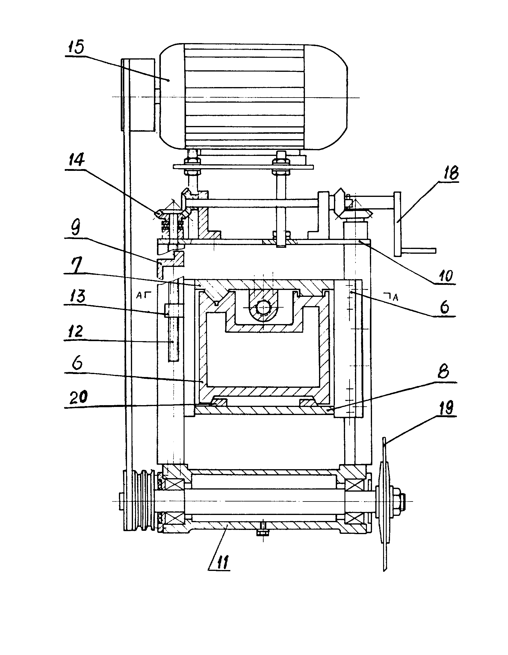
专利摘要:本申请公开了一种动力总成,该动力总成包括壳体、曲柄连杆机构和变速机构,壳体包括曲轴箱以及与曲轴箱连接的无级变速箱;曲柄连杆机构包括曲轴,曲轴位于曲轴箱内;变速机构至少部分位于无级变速箱内,变速机构与曲轴传动连接;无级变速箱沿动力总成的宽度方向位于曲轴箱的一侧,无级变速箱的内部形成有变速空间,变速机构至少部分位于变速空间内;无级变速箱包括腔室板,腔室板位于变速空间内并围绕变速机构设置,无级变速箱上开设有出风口,出风口与变速空间连通,腔室板至少部分位于出风口与变速机构之间。通过上述设置,腔室板可以保护变速机构,从而有利于提高变速机构的使用寿命,进而提高动力总成的使用寿命。

图片来源于网络,如有侵权,请联系删除
今年以来春风动力新获得专利授权106个,较去年同期减少了46.19%。结合公司2024年年报财务数据,2024年公司在研发方面投入了10.26亿元,同比增11%。
通过天眼查大数据分析,浙江春风动力股份有限公司共对外投资了16家企业,参与招投标项目705次;财产线索方面有商标信息337条,专利信息2349条,著作权信息227条;此外企业还拥有行政许可176个。
数据来源:天眼查APP
以上内容为证券之星据公开信息整理,由AI算法生成(网信算备310104345710301240019号),不构成投资建议。
