康冠科技获得实用新型专利授权:“一种快拆旋转卡扣结构及显示屏支架”
作者:小微
发表于:2025年06月18日
浏览量:67044

图片来源于网络,如有侵权,请联系删除
证券之星消息,根据天眼查APP数据显示康冠科技(001308)新获得一项实用新型专利授权,专利名为“一种快拆旋转卡扣结构及显示屏支架”,专利申请号为CN202421980647.0,授权日为2025年6月3日。
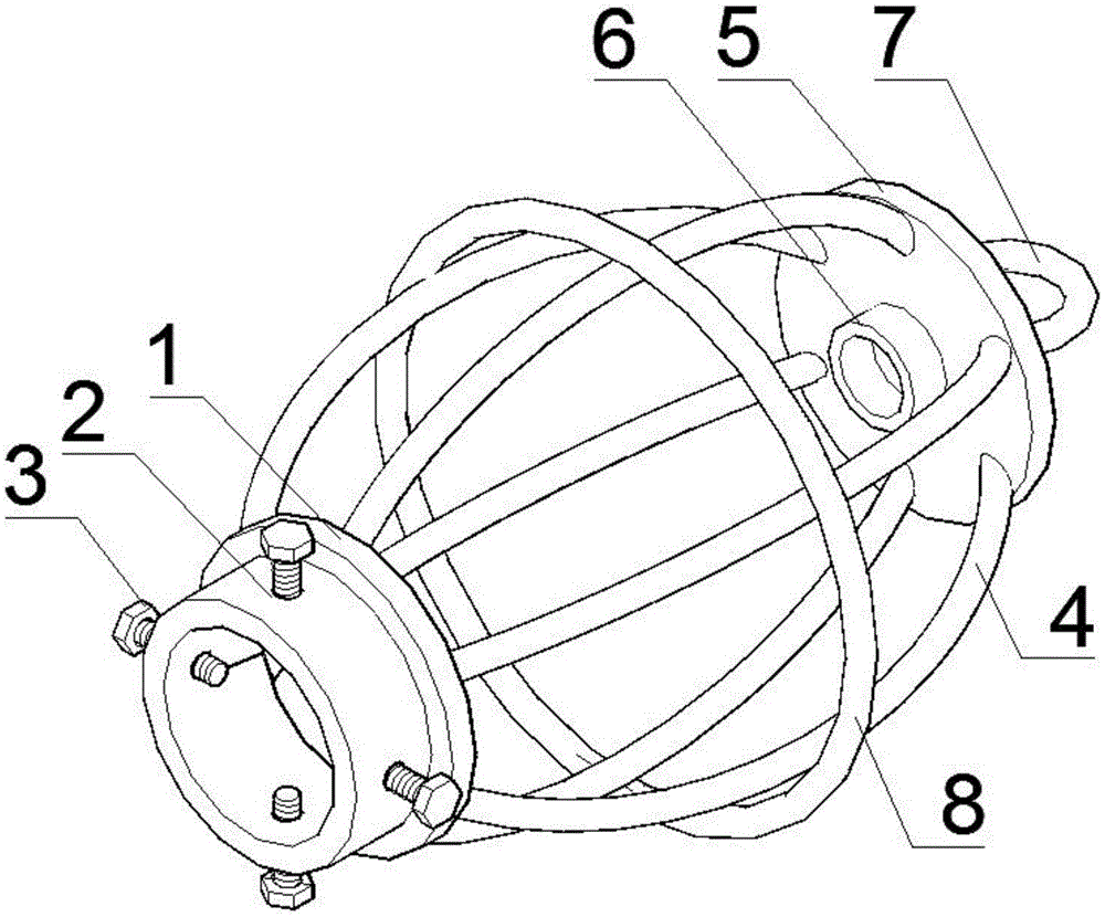
专利摘要:本实用新型公开了一种快拆旋转卡扣结构及显示屏支架,涉及零部件装配技术领域,具体为,包括:安装体,表面呈环形阵列设置有若干组卡扣槽孔,所述卡扣槽孔为长条形结构;装配体,表面垂直设置有若干组钩状的卡扣,用于贯穿所述卡扣槽孔,并在所述装配体与所述安装体相对转动后与所述卡扣槽孔结合限位,所述卡扣与所述卡扣槽孔位置一一对应;弹片,设置于所述安装体和所述装配体之间,用于推动所述安装体和所述装配体相互远离,本快拆旋转卡扣结构及显示屏支架,通过设置钩状的卡扣和贯穿的卡扣槽孔,通过旋转即可实现两者的锁紧和分离,且在装配体和安装体之间设置弹片,当两者之间的卡扣和卡扣槽孔分离后,弹片能够直接将两者分离,以实现快拆。

图片来源于网络,如有侵权,请联系删除
今年以来康冠科技新获得专利授权22个,较去年同期增加了144.44%。结合公司2024年年报财务数据,2024年公司在研发方面投入了6.47亿元,同比增4.93%。
数据来源:天眼查APP
以上内容为证券之星据公开信息整理,由AI算法生成(网信算备310104345710301240019号),不构成投资建议。
