国茂股份获得实用新型专利授权:“一种减速机齿轮轴防护组件”
作者:小微
发表于:2025年06月17日
浏览量:65586

图片来源于网络,如有侵权,请联系删除
证券之星消息,根据天眼查APP数据显示国茂股份(603915)新获得一项实用新型专利授权,专利名为“一种减速机齿轮轴防护组件”,专利申请号为CN202422033866.4,授权日为2025年6月17日。
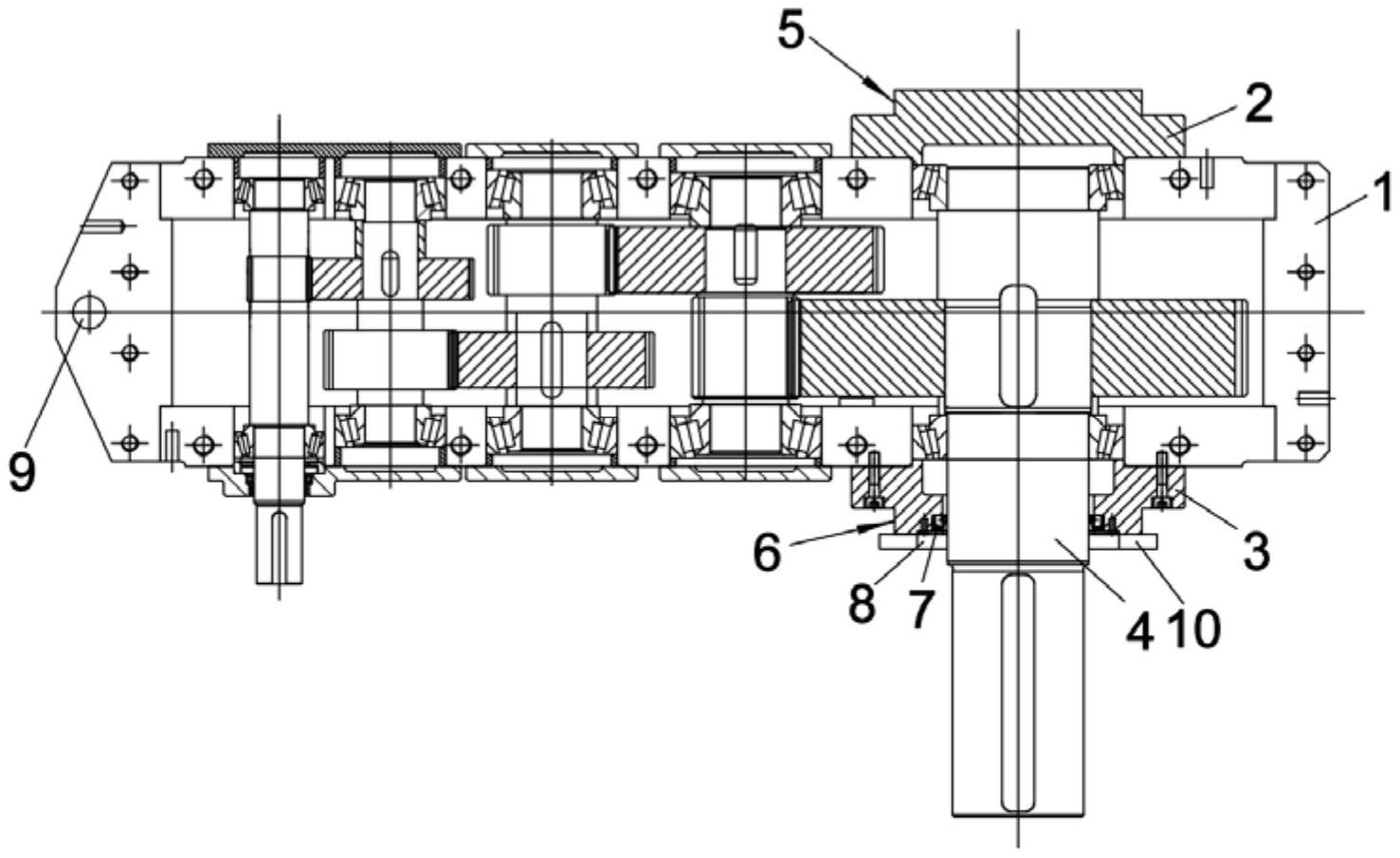
专利摘要:本实用新型提供一种减速机齿轮轴防护组件,属于齿轮轴防护技术领域;包括轴体,所述轴体的数量为若干个,所述轴体的底部设置有底板,底板上固定有若干个隔条,隔条用于将相邻两个轴体分隔开,隔条侧面均固定有直角三角块,直角三角块固定在底板上,直角三角块的斜边与轴体的圆周面贴合,底板顶部固定有两个挡条。本实用新型通过隔条和挡条的设置,将多个轴体依次放置在相邻两个隔条之间,通过隔条防止相邻两个轴体之间发生碰撞,挡条用于防止轴体在其轴向方向上从相邻两隔条之间滑出,通过隔条与挡条的配合,在转运过程中防止相邻两个轴体之间发生碰撞,防止轴体表面发生损伤,从而不会影响后续对轴体的装配精度。
今年以来国茂股份新获得专利授权18个,较去年同期增加了28.57%。结合公司2024年年报财务数据,2024年公司在研发方面投入了1.18亿元,同比减7.49%。
数据来源:天眼查APP
以上内容为证券之星据公开信息整理,由AI算法生成(网信算备310104345710301240019号),不构成投资建议。
