兖矿能源获得实用新型专利授权:“气腿式凿岩机安装锚杆用连接装置”
作者:小微
发表于:2025年06月13日
浏览量:55721

图片来源于网络,如有侵权,请联系删除
证券之星消息,根据天眼查APP数据显示兖矿能源(600188)新获得一项实用新型专利授权,专利名为“气腿式凿岩机安装锚杆用连接装置”,专利申请号为CN202421908640.8,授权日为2025年6月13日。
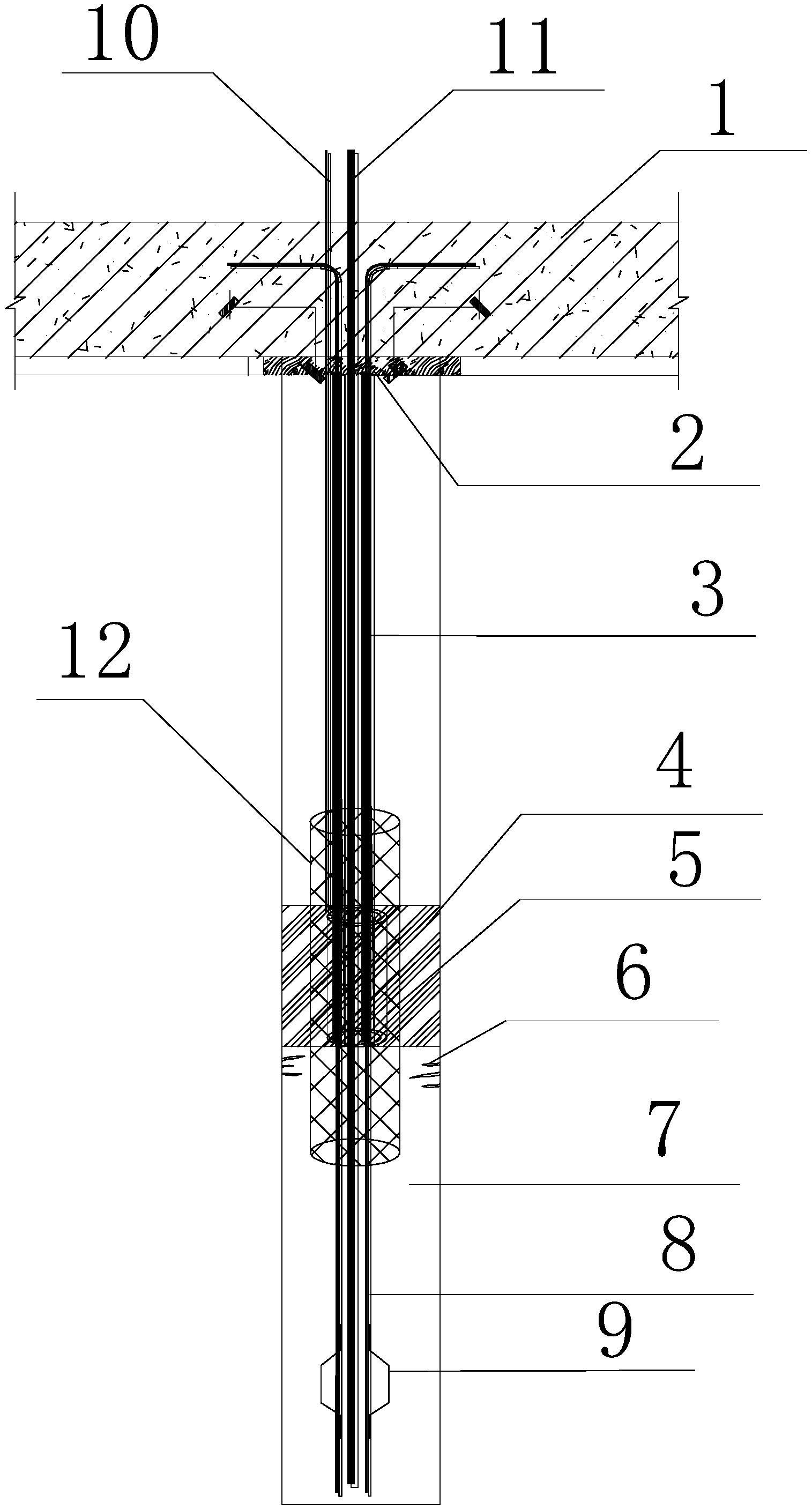
专利摘要:本实用新型公开了一种气腿式凿岩机安装锚杆用连接装置,包括:钎杆安装段,呈长直杆状结构,具有多个沿周向依次首尾相连并互呈夹角的平面侧壁;锚杆套筒,包括与所述钎杆安装段同轴固定的基体,以及与基体同轴可拆卸连接的多个拼接段,所述拼接段与所述基体沿径向插接并沿轴向卡接,相邻所述拼接段之间沿径向插接并沿轴向卡接,所述锚杆套筒具有与所述锚杆套筒同轴并用于容纳锚杆的限位孔。在本方案中,使用气腿式凿岩机施工完锚杆孔后将钎杆安装段安装在气腿式凿岩机上,将待装锚杆插入限位孔内即可开始安装锚杆,对于长锚杆可以使用多个拼接段以增长限位孔的长度,还可以在锚杆插入一定长度后减少拼接段的数量,以减轻锚杆安装过程的劳动强度。

图片来源于网络,如有侵权,请联系删除
今年以来兖矿能源新获得专利授权109个,较去年同期减少了3.54%。结合公司2024年年报财务数据,2024年公司在研发方面投入了27.35亿元,同比减6.1%。
数据来源:天眼查APP
以上内容为证券之星据公开信息整理,由AI算法生成(网信算备310104345710301240019号),不构成投资建议。
