新日股份获得实用新型专利授权:“一种带靠背转接支架的电动两轮车用后扶手”
作者:小微
发表于:2025年06月10日
浏览量:63895

图片来源于网络,如有侵权,请联系删除
证券之星消息,根据天眼查APP数据显示新日股份(603787)新获得一项实用新型专利授权,专利名为“一种带靠背转接支架的电动两轮车用后扶手”,专利申请号为CN202421778954.0,授权日为2025年6月10日。
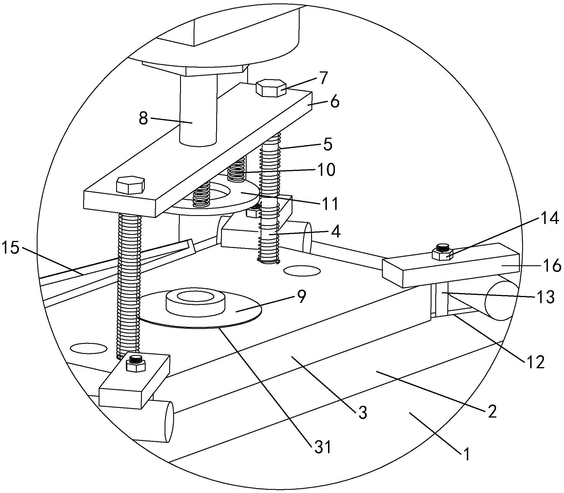
专利摘要:本实用新型公开了一种带靠背转接支架的电动两轮车用后扶手,包括后扶手本体,其特征在于:还包括靠背转接支架、锁紧块,所述靠背转接支架包括上端的用于连接靠背的靠背连接部和下端的后扶手连接部,所述后扶手连接部上设置有止转块,所述后扶手本体上设置有与所述止转块相配合的止转孔,当靠背转接支架连接在后扶手本体上时,止转块插接在所述止转孔中,所述锁紧块的上下两端分别与后扶手连接部连接,后扶手本体被夹持在后扶手连接部和锁紧块之间。提升了传统电动两轮车后扶手的通用性,可根据需要快速自由安装靠背,统一了后扶手的设计,使其在不同车型中选用时,可以灵活切换。
今年以来新日股份新获得专利授权25个,较去年同期增加了108.33%。结合公司2024年年报财务数据,2024年公司在研发方面投入了1.1亿元,同比减0.43%。
数据来源:天眼查APP
以上内容为证券之星据公开信息整理,由AI算法生成(网信算备310104345710301240019号),不构成投资建议。
