中国石油获得实用新型专利授权:“环境监测气袋自动清洗装置”
作者:小微
发表于:2025年06月06日
浏览量:70141

图片来源于网络,如有侵权,请联系删除
证券之星消息,根据天眼查APP数据显示中国石油(601857)新获得一项实用新型专利授权,专利名为“环境监测气袋自动清洗装置”,专利申请号为CN202421696135.1,授权日为2025年6月6日。
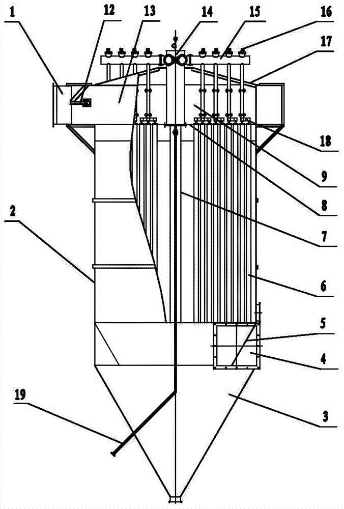
专利摘要:本实用新型公开了环境监测气袋自动清洗装置,涉及气袋清洗技术领域。本实用新型包括箱体,所述箱体内固定有放置气袋用的隔板,所述箱体的两侧内壁均固定连接有导轨,导轨之间滑动连接有滑板,滑板的表面固定连接有两个贯穿的伸缩杆,伸缩杆的底部之间固定连接有对气袋限位用的压板,压板的表面设置有配重块,所述箱体的底部内壁固定连接有两用气泵和缓冲罐。本实用新型中,将压板放置到气袋的上方,能够保持气袋在冲洗过程中的稳定性,有效防止气袋脱离,同时在充气时,新鲜空气能够进入到箱体内,并在排气时,将气体排放到箱体的另一侧,进而避免冲洗用的气体再次进入到充气袋中,提高冲洗的效率和效果。

图片来源于网络,如有侵权,请联系删除
今年以来中国石油新获得专利授权504个,较去年同期减少了49.35%。结合公司2024年年报财务数据,2024年公司在研发方面投入了230.14亿元,同比增4.77%。

图片来源于网络,如有侵权,请联系删除
数据来源:天眼查APP
以上内容为证券之星据公开信息整理,由AI算法生成(网信算备310104345710301240019号),不构成投资建议。
