鑫磊股份获得发明专利授权:“一种防止脚垫装配变形的空压机”
作者:小微
发表于:2025年05月31日
浏览量:54495

图片来源于网络,如有侵权,请联系删除
证券之星消息,根据天眼查APP数据显示鑫磊股份(301317)新获得一项发明专利授权,专利名为“一种防止脚垫装配变形的空压机”,专利申请号为CN202110689465.2,授权日为2025年5月30日。
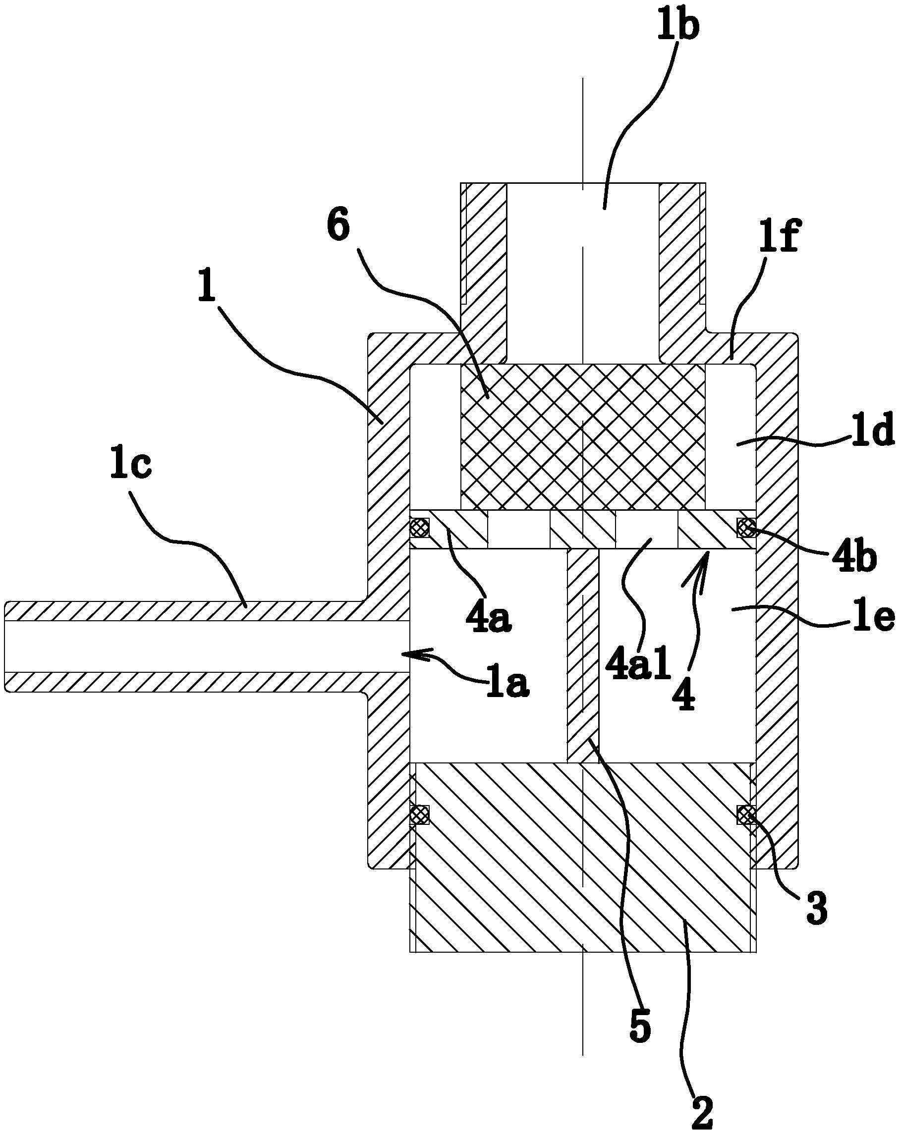
专利摘要:本发明涉及空压机领域,尤其涉及一种防止脚垫装配变形的空压机。该空压机包括储气罐、空压机机头、脚垫支架、脚垫、螺栓和锁紧螺母;螺栓包括螺栓头、第一柱体和第二柱体,第一柱体外表面无螺纹,第二柱体外表面设置有外螺纹;脚垫支架和脚垫都设置有贯穿的螺栓孔,脚垫支架还设置有与锁紧螺母内表面相贴合的锁紧面,脚垫还设置有与螺栓头内表面相贴合的压紧面;第一柱体分别穿过脚垫支架和脚垫的螺栓孔,锁紧螺母旋合至第二柱体外螺纹末端;第一柱体的长度与脚垫的设定压缩厚度之和等于未锁紧时锁紧面至压紧面的距离。该空压机在锁紧螺母上设置不带螺纹的第一柱体对锁紧位置进行限位,进而限制脚垫的压缩量,避免脚垫被拉裂变形。

图片来源于网络,如有侵权,请联系删除
今年以来鑫磊股份新获得专利授权30个,较去年同期增加了36.36%。结合公司2024年年报财务数据,2024年公司在研发方面投入了6276.22万元,同比增36.75%。
数据来源:天眼查APP
以上内容为证券之星据公开信息整理,由AI算法生成(网信算备310104345710301240019号),不构成投资建议。
