陕西能源获得实用新型专利授权:“一种基于变扭矩装置的带式输送机张紧装置”
作者:小微
发表于:2025年05月28日
浏览量:52902

图片来源于网络,如有侵权,请联系删除
证券之星消息,根据天眼查APP数据显示陕西能源(001286)新获得一项实用新型专利授权,专利名为“一种基于变扭矩装置的带式输送机张紧装置”,专利申请号为CN202422080687.6,授权日为2025年5月27日。
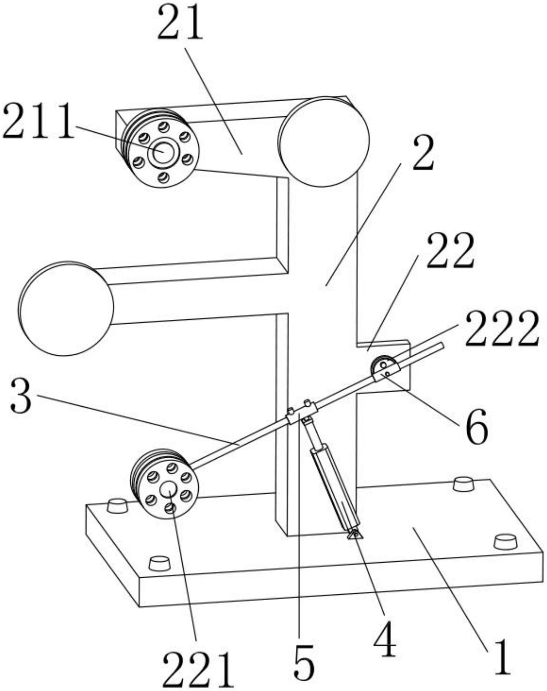
专利摘要:本实用新型公开一种基于变扭矩装置的带式输送机张紧装置。包括通过主轴安装在滚筒和磁流电机之间的盘式磁流变液变扭矩装置,盘式磁流变液变扭矩装置通过联轴器与主轴连接固定,盘式磁流变液变扭矩装置与联轴器之间安装有控制器,联轴器与磁流电机之间安装有制动器,磁流电机的尾端安装有变频器。本实用新型采用变扭矩技术的张紧装置,可应用于各种不同环境和不同类型的输送负载,包括重载、长距离或高速输送需求,能够根据实际需求调整张力,实现张紧与缓冲保护,提供高度的灵活性和适应性,防止输送带松弛或过度张紧,显著延长设备工作寿命。
今年以来陕西能源新获得专利授权1个。结合公司2024年年报财务数据,2024年公司在研发方面投入了2306.05万元,同比增139.51%。
数据来源:天眼查APP
以上内容为证券之星据公开信息整理,由AI算法生成(网信算备310104345710301240019号),不构成投资建议。
