老板电器获得实用新型专利授权:“一种鼓风燃烧器”
作者:小微
发表于:2025年05月27日
浏览量:64195

图片来源于网络,如有侵权,请联系删除
证券之星消息,根据天眼查APP数据显示老板电器(002508)新获得一项实用新型专利授权,专利名为“一种鼓风燃烧器”,专利申请号为CN202421846318.7,授权日为2025年5月27日。
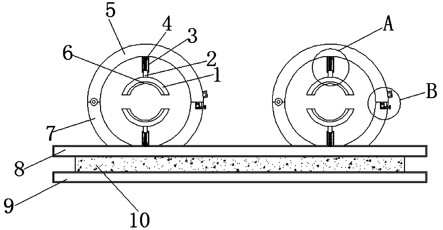
专利摘要:本实用新型公开了一种鼓风燃烧器,包括:燃烧器组件和鼓风组件;燃烧器组件包括燃烧器本体和吸气管道;鼓风组件包括燃气流出口和空气流出口;燃气流出口和空气流出口均位于鼓风组件的朝向吸气管道的一侧;吸气管道的进气口与燃气流出口和空气流出口相对设置,且吸气管道的进气口与空气流出口之间具有间隙;吸气管道的出气口连接至燃烧器本体,能够有效提高一次空气系数,促进燃气的燃烧效率以及提高火焰温度,有利于提高灶具的热效率。

图片来源于网络,如有侵权,请联系删除
今年以来老板电器新获得专利授权567个,较去年同期减少了3.57%。结合公司2024年年报财务数据,2024年公司在研发方面投入了4.14亿元,同比增6.79%。
数据来源:天眼查APP
以上内容为证券之星据公开信息整理,由AI算法生成(网信算备310104345710301240019号),不构成投资建议。
