宁德时代获得实用新型专利授权:“电池装置和用电装置”
作者:小微
发表于:2025年05月21日
浏览量:66213

图片来源于网络,如有侵权,请联系删除
证券之星消息,根据天眼查APP数据显示宁德时代(300750)新获得一项实用新型专利授权,专利名为“电池装置和用电装置”,专利申请号为CN202520228768.8,授权日为2025年5月6日。
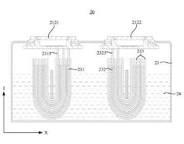
专利摘要:本申请涉及电池技术领域且公开了一种电池装置和用电装置,电池装置包括电池组,电池组包括第一壳体、第二壳体和多个软包电池单体,第一壳体和第二壳体沿第一方向依次设置且两者相连,第一壳体具有第一U型安装腔,第二壳体具有第二U型安装腔,第一U型安装腔和第二U型安装腔内均分别设有多个软包电池单体,且用于在第二方向上从相反的两个方向限制其内部的软包电池单体的运动,第二方向与第一方向垂直。由此,能增强电池组的结构强度和对第二方向上冲击的抵抗能力,从而提升电池装置的使用可靠性。

图片来源于网络,如有侵权,请联系删除
今年以来宁德时代新获得专利授权1746个,较去年同期增加了27.26%。结合公司2024年年报财务数据,2024年公司在研发方面投入了186.07亿元,同比增1.37%。

图片来源于网络,如有侵权,请联系删除
数据来源:天眼查APP
以上内容为证券之星据公开信息整理,由AI算法生成(网信算备310104345710301240019号),不构成投资建议。
