上海电气获得发明专利授权:“熔炼坩埚及用于真空气雾化制粉的翻转浇注熔炼系统”
作者:小微
发表于:2025年05月17日
浏览量:73154

图片来源于网络,如有侵权,请联系删除
证券之星消息,根据天眼查APP数据显示上海电气(601727)新获得一项发明专利授权,专利名为“熔炼坩埚及用于真空气雾化制粉的翻转浇注熔炼系统”,专利申请号为CN202310226726.6,授权日为2025年5月16日。
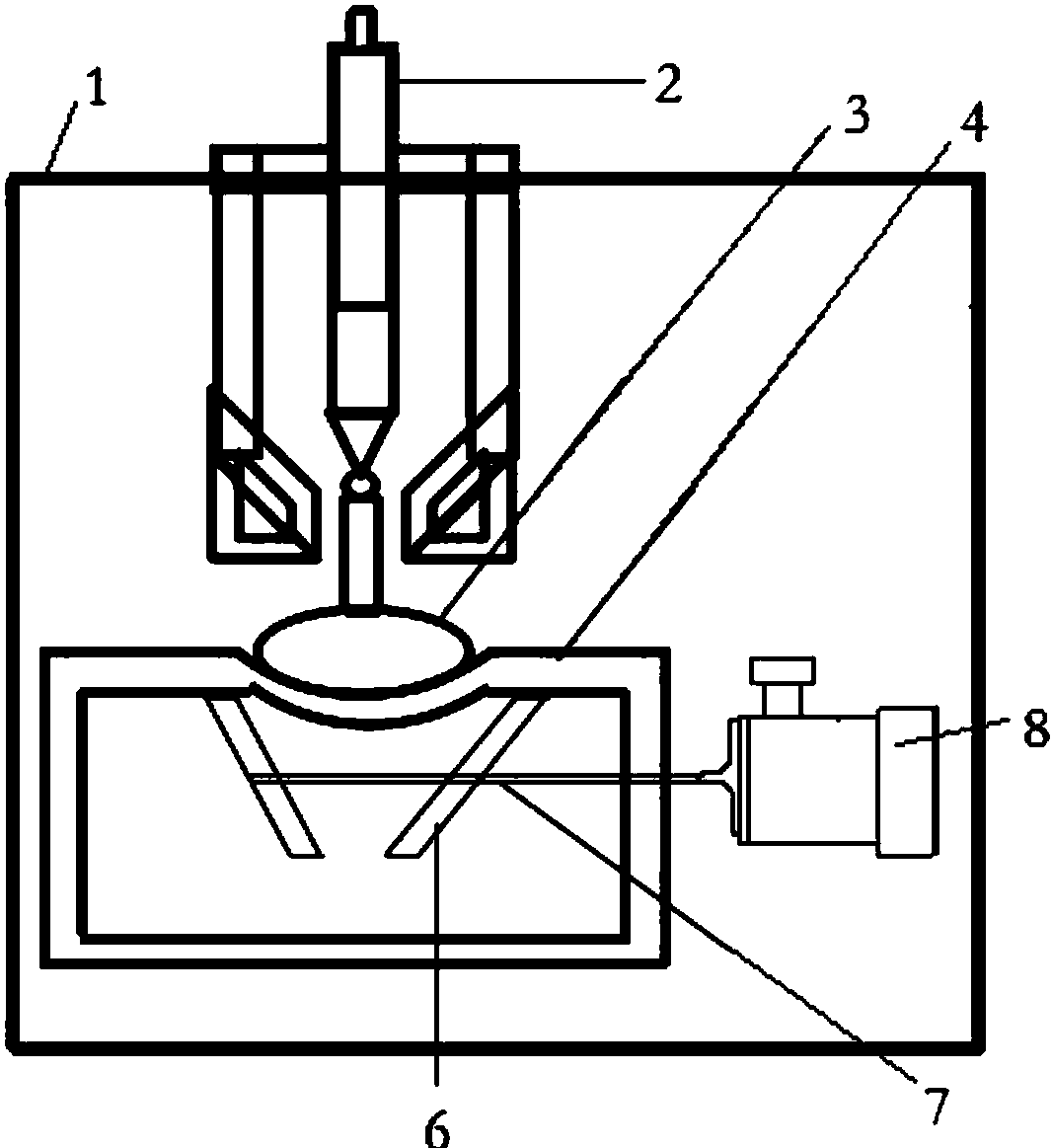
专利摘要:本发明公开了一种熔炼坩埚及用于真空气雾化制粉的翻转浇注熔炼系统,熔炼坩埚包括坩埚本体和隔热衬套,隔热衬套的内壁上沿周向设有环形槽,环形槽内设有多个沿环形槽周向分布的滚珠,坩埚本体设于隔热衬套内,坩埚本体的外壁与滚珠抵接且坩埚本体能相对隔热衬套转动。本发明的熔炼坩埚在进行金属熔体浇注时,坩埚本体会自动随着熔炼坩埚的倾倒发生转动,使浇口始终处于下方,保证金属熔体相对于中间包的倾倒口位置不变,进而使金属熔体的液注在浇铸过程中始终与中间包的中轴线在同一直线上,避免金属熔体溅落在中间包内壁或者陶瓷浇口等温度较低的位置,造成过热度损失,导致雾化导液管堵塞,或者降低气雾化制粉的细粉率。

图片来源于网络,如有侵权,请联系删除
今年以来上海电气新获得专利授权43个,较去年同期增加了2.38%。结合公司2024年年报财务数据,2024年公司在研发方面投入了56.65亿元,同比增5.5%。

图片来源于网络,如有侵权,请联系删除
数据来源:天眼查APP
以上内容为证券之星据公开信息整理,由AI算法生成(网信算备310104345710301240019号),不构成投资建议。
