精测电子获得发明专利授权:“一种显示面板微弱异常点的检测方法和装置”
作者:小微
发表于:2025年05月17日
浏览量:60740

图片来源于网络,如有侵权,请联系删除
证券之星消息,根据天眼查APP数据显示精测电子(300567)新获得一项发明专利授权,专利名为“一种显示面板微弱异常点的检测方法和装置”,专利申请号为CN202310413956.3,授权日为2025年5月16日。
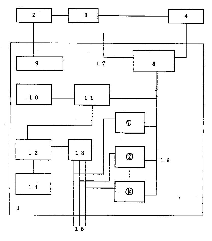
专利摘要:本发明公开了一种显示面板微弱异常点的检测方法,该方法包括:将测试图导入显示面板,拍摄显示面板作为第一测试结果,标记第一区域;第一区域大于一个像素点;将单色图导入显示面板,拍摄显示面板作为第二测试结果;在第一区域中标记第一像素点,在第二测试结果中标记第一像素点及其相邻像素点,计算第一像素点与其相邻像素点的灰度值之差;当灰度值之差的最小值大于第二阈值时,认为第一区域构成的点是单色图对应颜色的异常点。本发明通过提取异常点中灰度值差异最大的点作为代表,分析该像素点所述颜色,进而可以有效的针对异常点进行分类,提高异常点分类的效率。

图片来源于网络,如有侵权,请联系删除
今年以来精测电子新获得专利授权24个,较去年同期减少了67.12%。结合公司2024年年报财务数据,2024年公司在研发方面投入了7.24亿元,同比增13.03%。
数据来源:天眼查APP
以上内容为证券之星据公开信息整理,由AI算法生成(网信算备310104345710301240019号),不构成投资建议。
