视源股份获得发明专利授权:“天线检测系统及耦合箱”
作者:小微
发表于:2025年05月10日
浏览量:49435

图片来源于网络,如有侵权,请联系删除
证券之星消息,根据天眼查APP数据显示视源股份(002841)新获得一项发明专利授权,专利名为“天线检测系统及耦合箱”,专利申请号为CN202110668786.4,授权日为2025年5月9日。
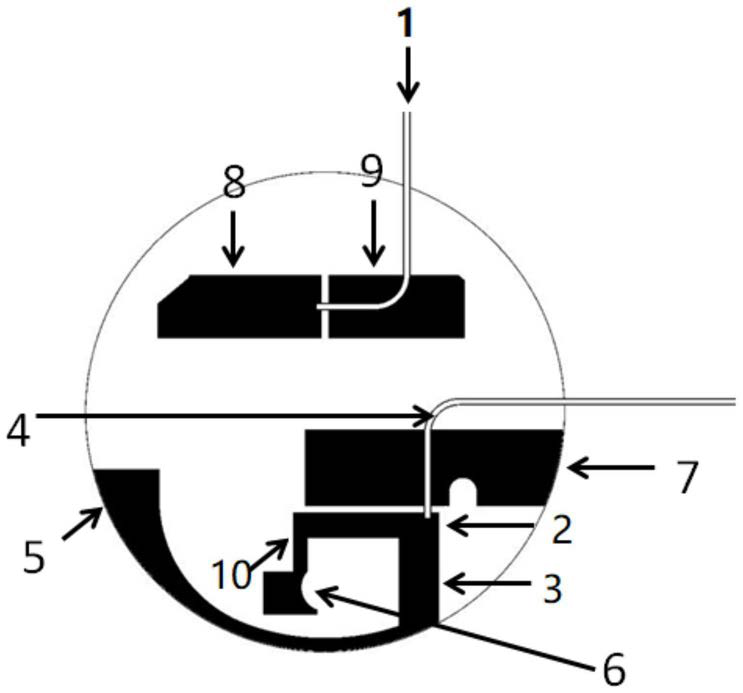
专利摘要:本申请涉及一种天线检测系统及耦合箱,该天线检测系统包括耦合箱、安装在交互平板上的待检测天线和检测模块,耦合箱包括箱体和设置在箱体内的标准天线,箱体的一侧表面留有缝隙,待检测天线卡设在缝隙中,检测模块分别与标准天线和交互平板连接。相对于现有技术,本申请由于该耦合箱的箱体一侧表面留有缝隙,从而使得安装在交互平板上的待检测天线能够卡设置在该缝隙中,并且,在耦合箱内设置有标准天线,使之能够在不受外界信号干扰的情况下,与待检测天线之间进行射频信号的收发传递,准确地检测安装在交互平板上的待检测天线的信号收发情况,不仅提高了天线检测的准确性和可操作性,还极大程度地节省了检测的时间成本和人力成本。

图片来源于网络,如有侵权,请联系删除
今年以来视源股份新获得专利授权176个,较去年同期减少了43.04%。结合公司2024年年报财务数据,2024年公司在研发方面投入了15.4亿元,同比增8.27%。

图片来源于网络,如有侵权,请联系删除
数据来源:天眼查APP
以上内容为证券之星据公开信息整理,由AI算法生成(网信算备310104345710301240019号),不构成投资建议。
