晶盛机电获得实用新型专利授权:“载盘组件和晶圆载台”
作者:小微
发表于:2025年05月06日
浏览量:66853

图片来源于网络,如有侵权,请联系删除
证券之星消息,根据天眼查APP数据显示晶盛机电(300316)新获得一项实用新型专利授权,专利名为“载盘组件和晶圆载台”,专利申请号为CN202421484542.6,授权日为2025年5月6日。
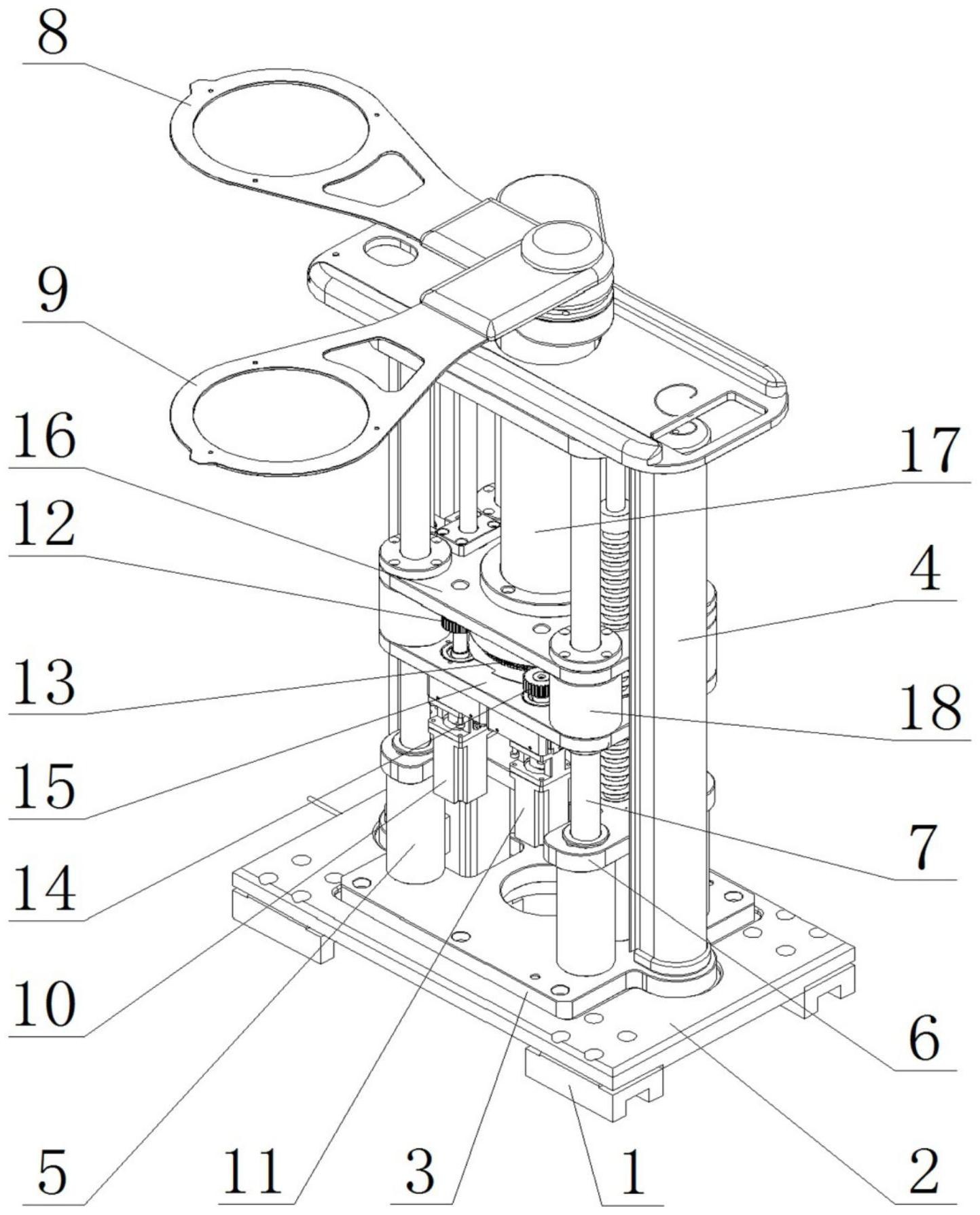
专利摘要:本发明涉及一种载盘组件和晶圆载台。载盘组件包括:测量载盘,测量载盘包括第一主体和第一容置部,第一容置部设置于第一主体中央,用于晶圆测量装置测量第一晶圆时容置第一晶圆;扩展部,扩展部包括至少一个扩展载盘,扩展载盘包括第二主体和第二容置部,扩展部用于晶圆测量装置测量第二晶圆时嵌置于第一容置部,第二容置部用于容置第二晶圆,第二晶圆尺寸小于第一晶圆。本申请的载盘组件,通过测量载盘的第一容置部,在大尺寸晶圆测量时容纳晶圆,在小尺寸晶圆测量时容纳扩展载盘。通过扩展载盘实现了对小尺寸晶圆的容置;提高了载盘组件对各种尺寸的晶圆的适用性。
今年以来晶盛机电新获得专利授权50个,较去年同期减少了19.35%。结合公司2024年年报财务数据,2024年公司在研发方面投入了11.19亿元,同比减2.29%。
数据来源:天眼查APP
以上内容为证券之星据公开信息整理,由AI算法生成(网信算备310104345710301240019号),不构成投资建议。
