-
图片来源于网络,如有侵权,请联系删除(原标题:爱尔兰寻求吸引房地产投资) 《爱尔兰独立报》1月16日报道,爱政府认为,在爱尔兰住房供应持续不足、建筑成本不断上涨,亟需向住房建设注入资金之际,爱尔兰必须以自身名义参与其中,才能吸引更多国际投资。政府将于3月份在法国南部举办的房地产投资会议(MIPIM) 上设立爱尔兰展馆。MIPIM被广泛认为是全球最大的房地产投资会议,通常会吸引超过 20,000 名代表,涵盖约 4 万亿欧元的管理资产。与会者通常包括来自世界各地的开发商、投资...
-
图片来源于网络,如有侵权,请联系删除证券之星消息,根据天眼查APP数据显示飞科电器(603868)新获得一项外观设计专利授权,专利名为“剃须刀盖子”,专利申请号为CN202430318906.2,授权日为2026年2月6日。 专利摘要:1.本外观设计产品的名称:剃须刀盖子。2.本外观设计产品的用途:用于盖设在剃须刀的刀头上。3.本外观设计产品的设计要点:在于形状。4.最能表明设计要点的图片或照片:设计1立体图。5.指定设计1为基本设计。 今年以来飞科电器新获得专利授权...
-
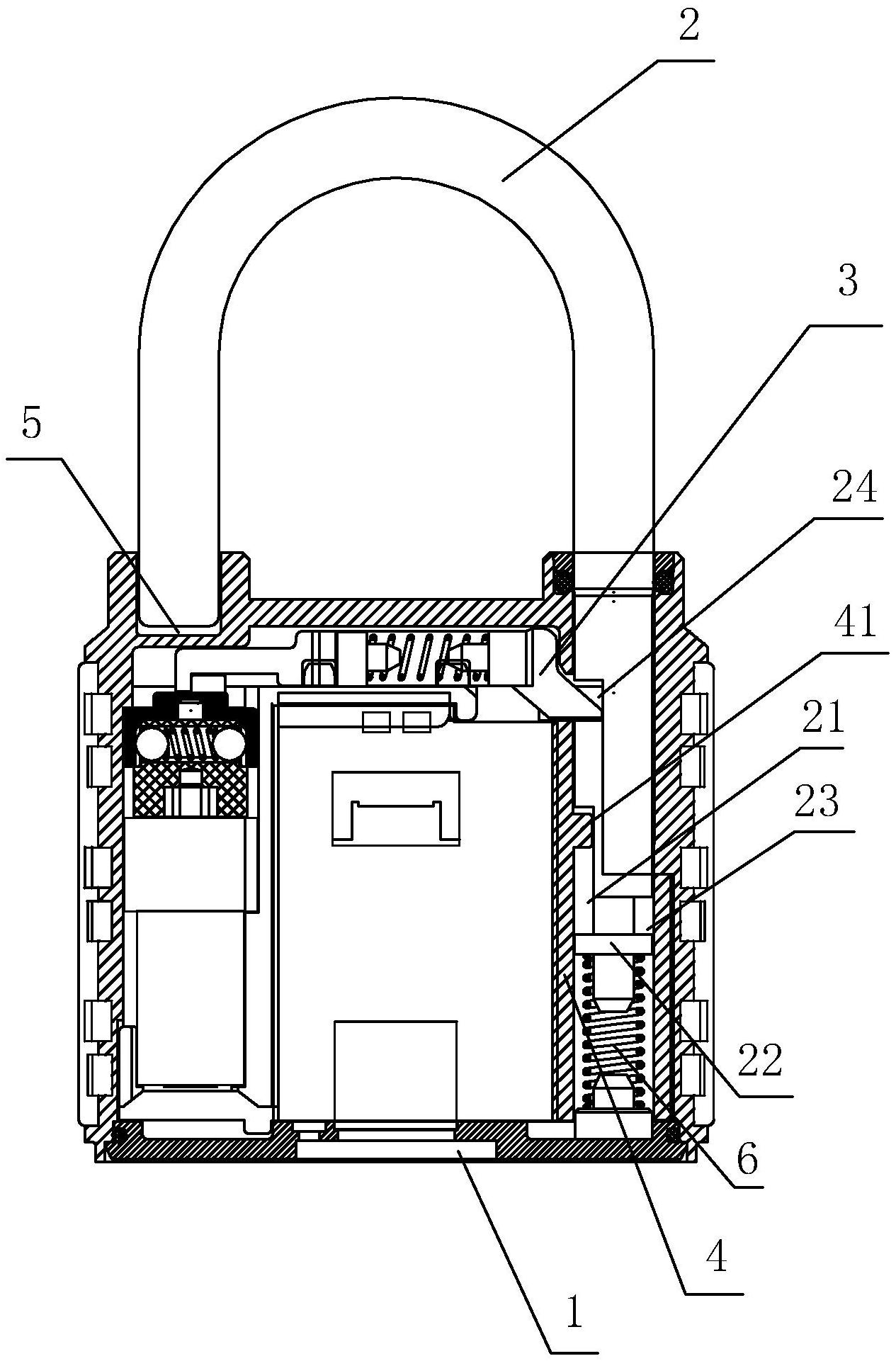
图片来源于网络,如有侵权,请联系删除证券之星消息,根据天眼查APP数据显示影石创新(688775)新获得一项实用新型专利授权,专利名为“用于拍摄设备的保护装置和拍摄设备”,专利申请号为CN202520507788.9,授权日为2026年2月6日。 专利摘要:本实用新型公开了一种用于拍摄设备的保护装置和拍摄设备。该保护装置包括:支架;叶片组,包括围绕旋转轴线可旋转地安装在所述支架上的多个叶片;其中,所述保护装置被构造成能够在第一状态和第二状态之间改变,在第一状态下,所述多个...
-
图片来源于网络,如有侵权,请联系删除证券之星消息,根据天眼查APP数据显示爱慕股份(603511)新获得一项实用新型专利授权,专利名为“一种夹心结构碗围的软支撑文胸”,专利申请号为CN202422883500.6,授权日为2026年2月6日。 专利摘要:本实用新型涉及一种夹心结构碗围的软支撑文胸,它包括前胸片和包围片,前胸片底部边缘与包围片的顶部边缘形状匹配且粘合连接形成文胸本体,所述前胸片与包围片的连接处对应乳房下围位置,且呈与乳房下围形状匹配的圆滑“W”形,前胸片与包...
-
图片来源于网络,如有侵权,请联系删除证券之星消息,根据天眼查APP数据显示江丰电子(300666)新获得一项实用新型专利授权,专利名为“一种变径刀具及加工机床”,专利申请号为CN202520441045.6,授权日为2026年2月6日。 专利摘要:本实用新型属于机床加工技术领域,公开了一种变径刀具及加工机床。变径刀具包括刀片和刀盘,刀盘包括第一连接部和第二连接部,第一连接部和第二连接部垂直连接,第一连接部的内径小于第二连接部的内径,刀片可拆卸设置于第一连接部并伸出第一连接...
-
图片来源于网络,如有侵权,请联系删除证券之星 陆雯燕 红相股份(300427.SZ)正试图通过资产处置摆脱历史包袱。近日,公司拟以1.2亿元总价款出售江苏如皋及周边地区分布式光伏项目(下称“如皋项目”)。然而此次交易路径复杂,公司需先调整项目公司股权架构,收购南通瀚蓝新能源有限公司(下称“南通瀚蓝”)100%股权并理清债权债务关系后,再将南通瀚蓝进行股权转让。此次交易预计将对上述资产的收款权计提3700万元减值损失。图片来源于网络,如有侵权,请联系删除 证券之星注意到,红...
-
图片来源于网络,如有侵权,请联系删除(原标题:欧洲议会议员因对合法性表示担忧而阻挠欧盟与南方共同市场自贸协定) 波黑国家台1月21日报道。欧洲议会21日未能批准欧盟与南方共同市场(Mercosur)的自由贸易协定,并要求欧盟法院就该协议出具法律意见。 在334票赞成、342票反对的结果下,欧洲议会决定将该协议提交至欧盟最高法院,以审查其是否符合欧盟条约规定。另有11名议员投了弃权票。欧盟与南方共同市场的自贸协定谈判历时二十余年,最终于上周六(1月18日)在巴拉圭首都亚松森...
-
图片来源于网络,如有侵权,请联系删除(原标题:埃及海关将与投资和外贸部商务服务局开展贸易便利化相关合作) 金字塔在线2026年1月19日报道。埃及海关总署(ECA)与投资和外贸部商务服务局(ECS)签署合作协议,海关将通过使用商务服务局的风险管理工具、海外企业网络系统等推动对进口货物的自动化核查和估值,以进一步缩短清关时间,提高海关数据准确性和港口运营效率,促进贸易便利化。图片来源于网络,如有侵权,请联系删除...
-
图片来源于网络,如有侵权,请联系删除(原标题:德国制造业订单存量持续增加) 德国联邦统计局1月20日发布数据显示,2025年11月德国制造业订单存量继续保持增长态势。2025年11月制造业实际订单存量环比增长1.8%,同比增长5.9%。从行业来看,增长主要得益于其他车辆制造业的强劲表现,该行业订单存量环比上升3.1%。汽车制造业与机械工程业分别环比增长3.0%和1.1%。按订单来源划分,国内订单存量环比增长3.6%,高于国外订单0.9%的增幅。在产品类别方面,资本货物与消费...
-
图片来源于网络,如有侵权,请联系删除人民财讯2月5日电,国务院新闻办公室将于2026年2月6日(星期五)下午3时举行国务院政策例行吹风会,请商务部副部长鄢东和交通运输部、广电总局、体育总局有关负责人介绍《加快培育服务消费新增长点工作方案》有关情况,并答记者问。...










